Запчасти Komatsu PC30-5 МЕХ-М УПРАВЛ-Я РАБОЧ. ОБОРУД-EM (СПЕЦ-Я TBG) МАРКИРОВКА¤ ИНСТРУМЕНТ И РЕМКОМПЛЕКТЫ

Схема запчастей Komatsu PC30-5 - МЕХ-М УПРАВЛ-Я РАБОЧ. ОБОРУД-EM (СПЕЦ-Я TBG) МАРКИРОВКА¤ ИНСТРУМЕНТ И РЕМКОМПЛЕКТЫ
FIT
1:1
100%

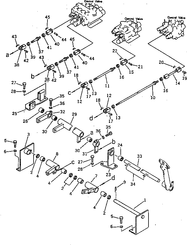
Артикул

Название

Примечание

Количество

1

20S-43-23220

SHAFT

2

06122-02004

SEAL

3

20S-43-23210

BRACKET

4

09350-02020

BUSHING

5

01010-51020

BOLT

6

01602-21030

WASHER,SPRING

7

20S-43-23230

LEVER

8

20S-43-23240

LEVER

9

04050-15030

PIN,COTTER

10

04248-31043

ROD

11

04248-31015

ROD

12

20S-43-12150

YOKE

13

01508-21006

NUT

14

20S-43-21580

ROD

15

201-43-21370

YOKE

16

01582-11008

NUT

17

04205-10822

PIN

18

04050-12012

PIN,COTTER

19

04205-10520

PIN

20

04050-11210

PIN,COTTER

21

04205-10622

PIN

22

04050-11610

PIN,COTTER

23

20S-43-21341

BRACKET

24

195-61-34130

BEARING

25

20S-43-21770

BRACKET

26

195-61-34130

BEARING

27

01010-51025

BOLT

28

01602-21030

WASHER,SPRING

29

20S-43-21320

LEVER

30

195-61-34130

BEARING

31

20S-43-21330

LEVER

32

20S-43-21510

LEVER

33

20S-43-21361

SHAFT

34

04010-00519

KEY

35

01010-50830

BOLT

36

01602-20825

WASHER,SPRING

37

04248-31011

ROD

38

20S-43-12150

YOKE

39

01508-21006

NUT

40

201-43-21370

YOKE

41

01582-11008

NUT

42

04205-10822

PIN

43

04050-12012

PIN,COTTER

44

04205-10622

PIN

45

04050-11610

PIN,COTTER

46

20S-43-21870

SHIM,(NOT SHOWN)

47

20S-43-21880

SHIM,(NOT SHOWN)

Выбрано товаров: 47