Запчасти Komatsu PC30-5 ЭЛЕКТРИКА (ДЛЯ КАБИНЫ) ОСНОВНАЯ РАМА И КАБИНА

Схема запчастей Komatsu PC30-5 - ЭЛЕКТРИКА (ДЛЯ КАБИНЫ) ОСНОВНАЯ РАМА И КАБИНА
FIT
1:1
100%

Артикул

Название

Примечание

Количество

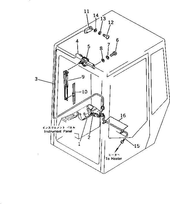
1

20S-06-21610

WIRE ASS'Y

2

08034-00414

BAND

3

20S-06-21620

WIRE ASS'Y

4

20S-06-21420

WIRE ASS'Y

5

20S-06-21290

MOTOR

6

01220-40516

SCREW

7

01601-20513

WASHER,SPRING

8

01641-20508

WASHER

9

20S-06-13470

ARM,WIPER

10

20S-06-13430

BLADE

11

08141-01200

LAMP,ROOM

12

01220-40416

SCREW

13

01601-20410

WASHER,SPRING

14

01641-20405

WASHER

15

20S-06-21440

WIRE

16

08036-10810

CLIP

Выбрано товаров: 16