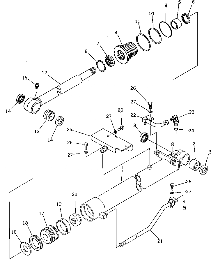
Запчасти Komatsu PC30-5 ЦИЛИНДР КОВША УПРАВЛ-Е РАБОЧИМ ОБОРУДОВАНИЕМ

Схема запчастей Komatsu PC30-5 - ЦИЛИНДР КОВША УПРАВЛ-Е РАБОЧИМ ОБОРУДОВАНИЕМ
FIT
1:1
100%

Артикул

Название

Примечание

Количество

|$0

20S-63-76102

CYLINDER ASS'Y

1

20S-63-76141

CYLINDER

2

07143-10304

BUSHING

3

07145-00035

SEAL

4

707-29-70290

HEAD

5

07177-04025

BUSHING

6

707-51-40210

PACKING,ROD

7

198-63-75190

SEAL,DUST

8

07179-00059

RING,SNAP

9

07000-12075

O-RING

10

07001-02075

RING,BACK-UP

11

707-45-70010

WASHER

12

20S-63-76120

ROD

13

07144-10304

BUSHING

14

07145-00035

SEAL,DUST

15

07020-00675

FITTING,GREASE

16

707-40-70280

RETAINER

17

707-36-70280

PISTON

18

707-44-70080

RING,PISTON

19

07155-00720

RING,WEAR

20

07165-13033

NUT

21

20S-63-76160

TUBE

22

20S-63-76180

TUBE

23

07235-10315

ELBOW

24

07002-12034

O-RING

25

707-88-10880

GUARD

26

01010-51020

BOLT

27

01643-31032

WASHER

Выбрано товаров: 28