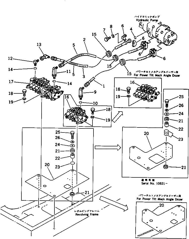
Запчасти Komatsu PC30-6 ГИДРОЛИНИЯ (ИЗ НАСОСА В КЛАПАН) УПРАВЛ-Е РАБОЧИМ ОБОРУДОВАНИЕМ

Схема запчастей Komatsu PC30-6 - ГИДРОЛИНИЯ (ИЗ НАСОСА В КЛАПАН) УПРАВЛ-Е РАБОЧИМ ОБОРУДОВАНИЕМ
FIT
1:1
100%

Артикул

Название

Примечание

Количество

1

20S-62-31260

HOSE

|1

20S-62-31230

HOSE

2

20S-62-31250

HOSE

|2

20S-62-31220

HOSE

3

20S-62-31240

HOSE

|3

20S-62-31210

HOSE

4

07000-12021

O-RING

5

203-62-32440

COVER

6

07371-30400

FLANGE,SPLIT

7

01010-50830

BOLT

8

01602-20825

WASHER,SPRING

9

20R-62-21520

ELBOW

10

07002-12034

O-RING

11

20R-62-21510

ELBOW

12

07235-10422

ELBOW

13

20T-62-61230

TUBE

14

07002-12034

O-RING

15

08037-03614

GROMMET

16

709-33-11503

VALVE ASS'Y,(SEE FIG 6211)

|16

709-33-11502

VALVE ASS'Y,(SEE FIG 6211)

|16

709-33-11501

VALVE ASS'Y,(SEE FIG 6211)

|16

709-33-11500

VALVE ASS'Y,(SEE FIG 6211)

|16

709-34-12600

VALVE ASS'Y,(SEE FIG 6221)

17

709-36-12203

VALVE ASS'Y,(SEE FIG 6201)

|17

709-36-12202

VALVE ASS'Y,(SEE FIG 6201)

|17

709-36-12201

VALVE ASS'Y,(SEE FIG 6201)

|17

709-36-12200

VALVE ASS'Y,(SEE FIG 6201)

18

01010-50825

BOLT

19

01602-20825

WASHER,SPRING

20

20S-60-31211

BRACKET

|20

20S-60-31210

BRACKET

|20

20S-60-35131

BRACKET,(FOR POWER TILT MECH ANGLE)

21

203-62-58360

CUSHION

|21

203-62-42770

CUSHION

22

20X-62-21550

SPACER

23

07000-03025

O-RING

|23

07000-03025

O-RING

24

566-35-42430

PLATE

25

01010-51250

BOLT

26

01643-31232

WASHER

Выбрано товаров: 40