Запчасти Komatsu PC30-6 КОВШ .M (MINI .9M) ШИР. MM РАБОЧЕЕ ОБОРУДОВАНИЕ

Схема запчастей Komatsu PC30-6 - КОВШ .M (MINI .9M) ШИР. MM РАБОЧЕЕ ОБОРУДОВАНИЕ
FIT
1:1
100%

Артикул

Название

Примечание

Количество

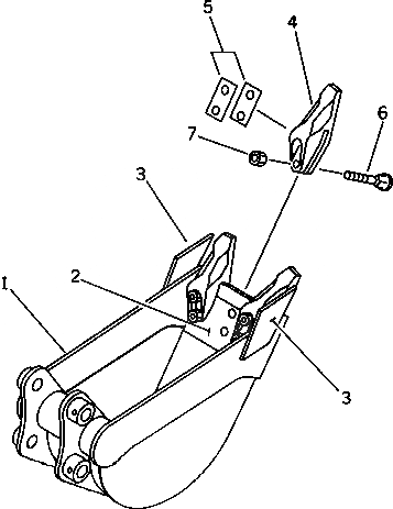
|1

20S-926-0020

BUCKET ASS'Y

G-1

20S-926-X100

BUCKET GROUP

1

20S-926-3110

BUCKET

2

20S-926-1120

LIP (WELDED)

3

20T-70-13160

CUTTER (WELDED)

G-2

20T-70-X4200

TOOTH GROUP

4

20T-70-13130

TOOTH

5

20T-70-05010

SHIM ASS'Y

|5

SHIM¤ 0.5MM

|5

SHIM¤ 1.0MM

6

02090-11060

BOLT

7

02205-11015

NUT

Выбрано товаров: 12