Запчасти Komatsu PC30-6 ОТВАЛ РАБОЧЕЕ ОБОРУДОВАНИЕ

Схема запчастей Komatsu PC30-6 - ОТВАЛ РАБОЧЕЕ ОБОРУДОВАНИЕ
FIT
1:1
100%

Артикул

Название

Примечание

Количество

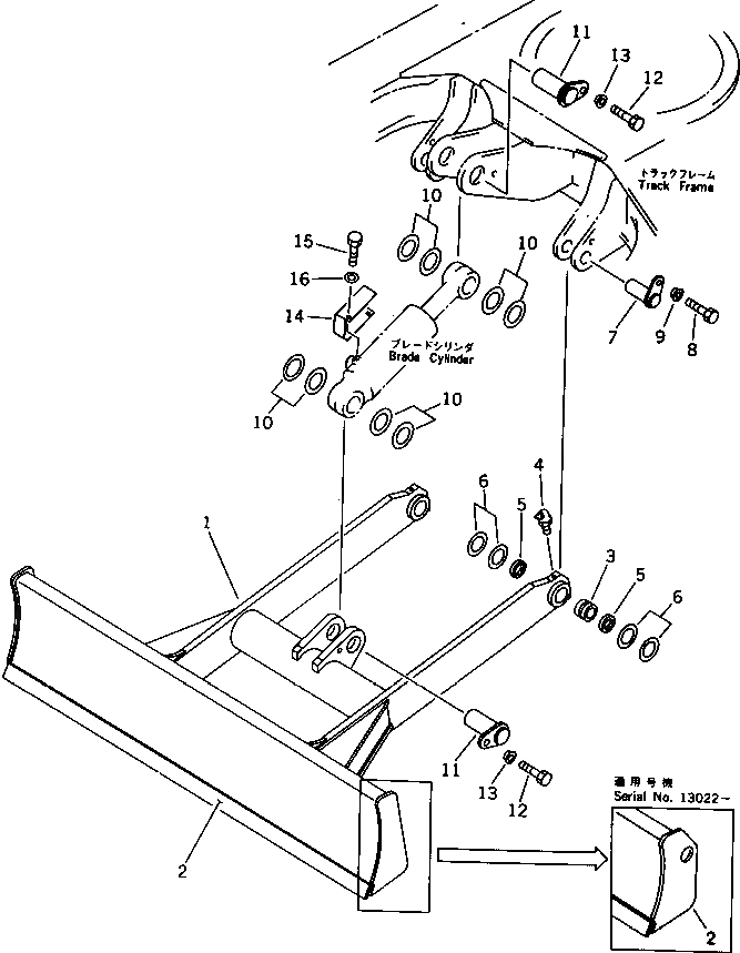
|1

20S-71-00061

BLADE ASS'Y

|1

20S-71-00060

BLADE ASS'Y

1

BLADE ASS'Y

|1

BLADE ASS'Y

2

20S-71-21120

EDGE,CUTTING (WELDED)

3

07144-10304

BUSHING

4

07020-00675

FITTING,GREASE

5

07145-00035

SEAL,DUST

6

20R-70-11270

SPACER¤ 1.0MM

|6

20S-71-11250

SPACER¤ 2.3MM

7

20S-71-31221

PIN

8

01010-51225

BOLT

9

20S-70-31180

SPACER

10

201-70-23140

SPACER¤ 1.0MM

11

20S-71-31211

PIN

12

01010-51225

BOLT

13

20S-70-31190

SPACER

14

20S-71-31310

COVER

15

01010-51020

BOLT

16

01643-31032

WASHER

Выбрано товаров: 20