Запчасти Komatsu PC30-6 ГИДРОЛИНИЯ (МОТОР ХОДА ЛИНИЯ) УПРАВЛ-Е РАБОЧИМ ОБОРУДОВАНИЕМ

Схема запчастей Komatsu PC30-6 - ГИДРОЛИНИЯ (МОТОР ХОДА ЛИНИЯ) УПРАВЛ-Е РАБОЧИМ ОБОРУДОВАНИЕМ
FIT
1:1
100%

Артикул

Название

Примечание

Количество

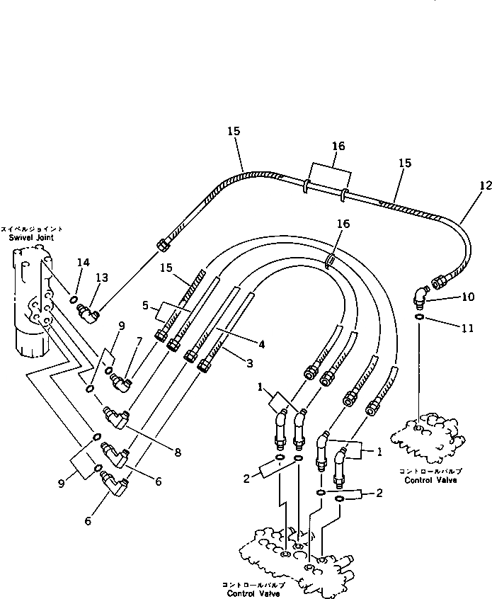
1

20T-62-61511

ELBOW

2

07002-11823

O-RING

3

20S-62-31480

HOSE

3

20S-62-21510

HOSE

4

20S-62-31490

HOSE

4

20S-62-21520

HOSE

5

20T-62-66510

HOSE

5

20T-62-61520

HOSE

6

20R-62-21520

ELBOW

7

07235-10422

ELBOW

8

20T-62-56560

ELBOW

9

07002-12034

O-RING

10

20T-62-66180

ELBOW

11

07002-11823

O-RING

12

20S-62-31530

HOSE

12

420S-62-31520

HOSE

13

07235-10315

ELBOW

14

07002-02034

O-RING

15

203-62-32440

COVER

16

08034-00536

BAND

Выбрано товаров: 20