Запчасти Komatsu PC30-6 ЦИЛИНДР СТРЕЛЫ(ДЛЯ НАВЕСА) РАБОЧЕЕ ОБОРУДОВАНИЕ

Схема запчастей Komatsu PC30-6 - ЦИЛИНДР СТРЕЛЫ(ДЛЯ НАВЕСА) РАБОЧЕЕ ОБОРУДОВАНИЕ
FIT
1:1
100%

Артикул

Название

Примечание

Количество

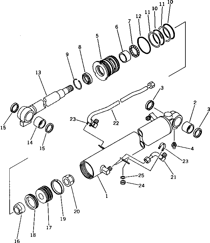
G-1

20S-63-X2021

BOOM CYLINDER GROUP,(FOR CANOPY)

|$$2

====================

|$2

20S-63-02021

CYLINDER ASS'Y

1

20S-63-56742

CYLINDER

2

07144-10404

BUSHING

3

07145-00040

SEAL,DUST

4

07020-00000

FITTING

5

707-29-80230

HEAD,CYLINDER

6

07177-04530

BUSHING

7

707-51-45210

PACKING,ROD

8

112-63-15370

SEAL,DUST

9

07179-12057

RING,SNAP

10

07000-12075

O-RING

11

07146-02076

RING,BACK-UP

12

07000-02080

O-RING

13

20S-63-56721

ROD,PISTON

14

07143-10404

BUSHING,BUSHING

15

07145-00040

SEAL,DUST

16

707-71-50490

PLUNGER

17

707-36-80070

PISTON

18

707-44-80180

RING,PISTON

19

07156-00810

RING,WEAR

20

07165-12729

NUT

21

20S-63-56771

TUBE

22

20R-63-56683

TUBE

23

07283-21529

CLIP

24

01598-00809

NUT

25

01643-30823

WASHER

|$$29

====================

Выбрано товаров: 29