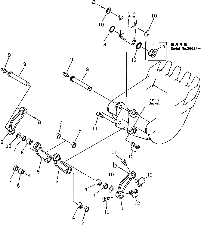
Запчасти Komatsu PC30-6 СОЕДИНЕНИЕ КОВША РАБОЧЕЕ ОБОРУДОВАНИЕ

Схема запчастей Komatsu PC30-6 - СОЕДИНЕНИЕ КОВША РАБОЧЕЕ ОБОРУДОВАНИЕ
FIT
1:1
100%

Артикул

Название

Примечание

Количество

1

20S-70-31430

LINK,L.H.

2

20S-70-31440

LINK,R.H.

|$2

20R-70-00270

LINK ASS'Y,L.H.

3

LINK

4

20S-70-11270

BUSHING

|$5

20R-70-00280

LINK ASS'Y,R.H.

5

LINK

6

20S-70-11270

BUSHING

7

07145-00035

SEAL,DUST

8

20R-70-11241

PIN

9

07020-00000

FITTING,GREASE

10

20R-70-11270

SPACER, 1.0MM

11

01018-11285

BOLT

11

01010-51285

BOLT

12

01580-11210

NUT

13

140-30-16220

O-RING

14

21X-70-14140

SPACER, 1.0MM

Выбрано товаров: 17