Запчасти Komatsu PC30-6 КОВШ .M (MINI .8M) ШИР. MM¤ С КРЮК¤ КРОМЕ ЯПОН. РАБОЧЕЕ ОБОРУДОВАНИЕ

Схема запчастей Komatsu PC30-6 - КОВШ .M (MINI .8M) ШИР. MM¤ С КРЮК¤ КРОМЕ ЯПОН. РАБОЧЕЕ ОБОРУДОВАНИЕ
FIT
1:1
100%

Артикул

Название

Примечание

Количество

|$0

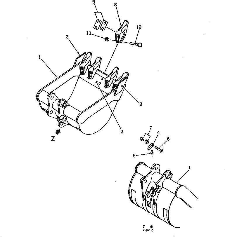
20S-920-0030

BUCKET ASS'Y

G-1

20S-920-X200

BUCKET GROUP

|$$3

====================

1

20S-920-3210

BUCKET

2

20S-920-1120

LIP (WELDED)

3

20T-70-13160

CUTTER (WELDED)

4

20T-70-26120

LEVER

5

20S-70-12130

SPRING

6

01220-40525

SCREW

7

01580-10504

NUT

|$$11

====================

G-2

20T-70-X4200

TOOTH GROUP

|$$13

====================

8

20T-70-13130

TOOTH

9

20T-70-05010

SHIM ASS'Y

9

SHIM, 0.5MM

9

SHIM, 1.0MM

10

02090-11060

BOLT

11

02205-11015

NUT

|$$20

====================

Выбрано товаров: 20