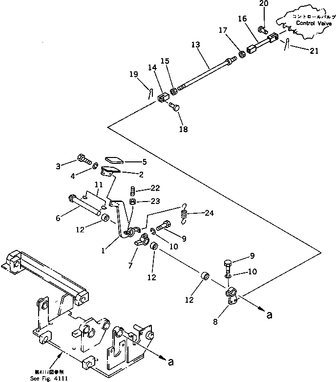
Запчасти Komatsu PC30-6 ПЕДАЛЬ СКОРОСТИ И МЕХАНИЗМ (6-ПОЗИЦИОНН. СПЕЦИФИКАЦИЯ)(№-) СИСТЕМА УПРАВЛЕНИЯ И ОСНОВНАЯ РАМА

Схема запчастей Komatsu PC30-6 - ПЕДАЛЬ СКОРОСТИ И МЕХАНИЗМ (6-ПОЗИЦИОНН. СПЕЦИФИКАЦИЯ)(№-) СИСТЕМА УПРАВЛЕНИЯ И ОСНОВНАЯ РАМА
FIT
1:1
100%

Артикул

Название

Примечание

Количество

1

20T-43-47511

LEVER

2

201-43-38150

PEDAL

3

01010-50816

BOLT

4

01602-20825

WASHER,SPRING

5

20D-43-14370

CAP,PEDAL

6

20T-43-47540

SHAFT

7

20T-43-47530

LEVER

8

20T-43-47520

LEVER

9

01010-50830

BOLT

10

01602-20825

WASHER,SPRING

11

04010-00519

KEY

12

195-61-34130

BEARING

13

04248-31031

ROD

14

20S-43-12150

YOKE,L.H. THREAD

15

01508-41006

NUT,L.H. THREAD

16

20S-43-21580

ROD

17

01582-11008

NUT

18

20T-43-48610

PIN

19

04050-12012

PIN,COTTER

20

20T-43-48620

PIN

21

04050-11210

PIN,COTTER

22

01310-21032

SCREW

23

01580-11008

NUT

24

111-33-32131

SPRING

Выбрано товаров: 24