Запчасти Komatsu PC30-6 ПЕДАЛЬ УПРАВЛ-Я (ДЛЯ НАВЕСН. ОБОРУД.) СИСТЕМА УПРАВЛЕНИЯ И ОСНОВНАЯ РАМА

Схема запчастей Komatsu PC30-6 - ПЕДАЛЬ УПРАВЛ-Я (ДЛЯ НАВЕСН. ОБОРУД.) СИСТЕМА УПРАВЛЕНИЯ И ОСНОВНАЯ РАМА
FIT
1:1
100%

Артикул

Название

Примечание

Количество

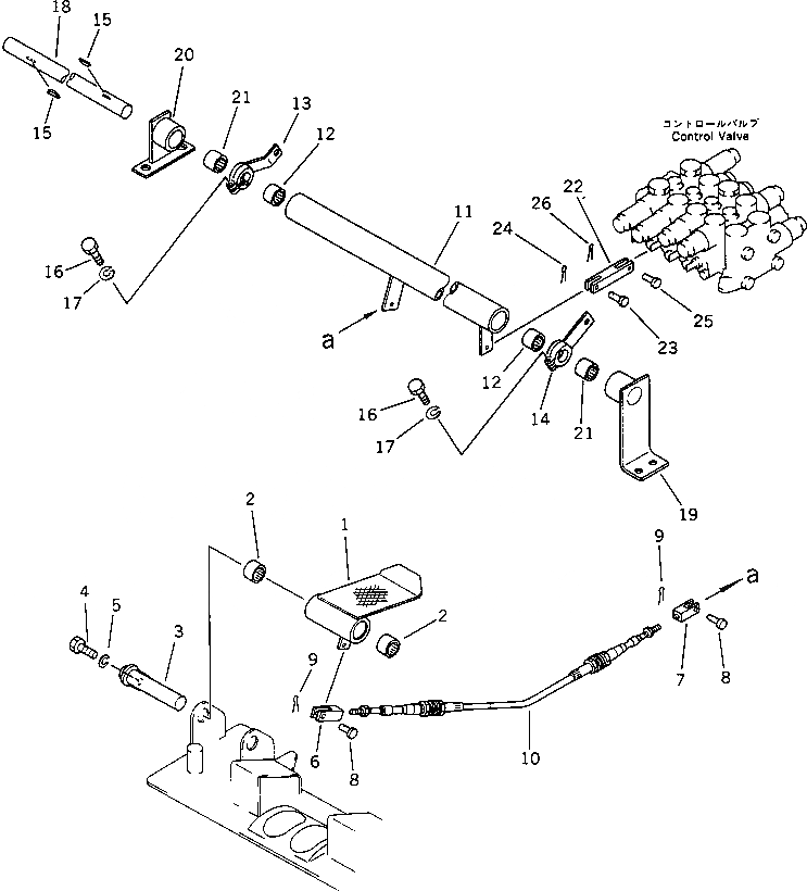
G-1

20S-973-X110

CONTROL GROUP,ATTACHMENT

|$$2

====================

1

20S-973-3110

PEDAL

2

195-61-34130

BEARING

3

20S-970-3120

SHAFT

4

01010-50825

BOLT

5

01602-20825

WASHER,SPRING

6

04211-20634

YOKE

7

04210-20624

YOKE

8

04205-10618

PIN

9

04050-11612

PIN,COTTER

10

20S-973-2640

CABLE

11

20S-973-3130

LEVER

12

195-61-34130

BEARING

13

20S-973-2660

LEVER

14

20S-43-21330

LEVER

15

04010-00519

KEY

16

01010-50830

BOLT

17

01602-20825

WASHER,SPRING

18

20S-973-2670

SHAFT

19

20S-973-2680

BRACKET

20

20T-973-4610

BRACKET

21

195-61-34130

BEARING

22

20S-43-22170

YOKE

23

04205-10822

PIN

24

04050-11212

PIN,COTTER

25

04205-10520

PIN

26

04050-12012

PIN,COTTER

|$$29

====================

Выбрано товаров: 29