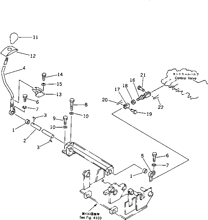
Запчасти Komatsu PC30-6 РЫЧАГ УПРАВЛЕНИЯ ПОВОРОТОМ (6-ПОЗИЦИОНН. СПЕЦИФИКАЦИЯ)(№-) СИСТЕМА УПРАВЛЕНИЯ И ОСНОВНАЯ РАМА

Схема запчастей Komatsu PC30-6 - РЫЧАГ УПРАВЛЕНИЯ ПОВОРОТОМ (6-ПОЗИЦИОНН. СПЕЦИФИКАЦИЯ)(№-) СИСТЕМА УПРАВЛЕНИЯ И ОСНОВНАЯ РАМА
FIT
1:1
100%

Артикул

Название

Примечание

Количество

1

195-61-34130

BEARING

2

20S-43-31320

SHAFT

3

04010-00519

KEY

4

20S-43-21810

LEVER

5

20S-43-31350

LEVER

6

01010-50830

BOLT

7

01602-20825

WASHER,SPRING

8

01010-51065

BOLT

9

01010-51030

BOLT

10

01643-31032

WASHER

11

203-43-41910

KNOB

12

20S-43-11230

COVER

13

20S-43-15140

HINGE

14

01010-50820

BOLT

15

01643-30823

WASHER

16

20T-43-31340

YOKE

17

20S-43-12150

YOKE,L.H. THREAD

18

01508-41006

NUT,L.H. THREAD

19

20T-43-48610

PIN

20

04050-12012

PIN,COTTER

21

20T-43-48620

PIN

22

04050-11210

PIN,COTTER

Выбрано товаров: 22