Запчасти Komatsu PC30-6 РЫЧАГ УПРАВЛ-Я ХОДОМ (/) (ДЛЯ I.S.O. PATTERN) (КРОМЕ ЯПОН.) СИСТЕМА УПРАВЛЕНИЯ И ОСНОВНАЯ РАМА

Схема запчастей Komatsu PC30-6 - РЫЧАГ УПРАВЛ-Я ХОДОМ (/) (ДЛЯ I.S.O. PATTERN) (КРОМЕ ЯПОН.) СИСТЕМА УПРАВЛЕНИЯ И ОСНОВНАЯ РАМА
FIT
1:1
100%

Артикул

Название

Примечание

Количество

G-1

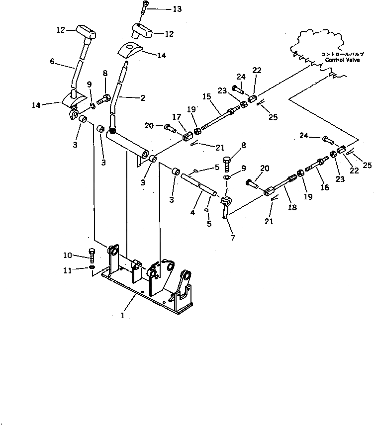
20S-43-X1400

ARM GROUP

|$$2

====================

1

20S-43-33410

BRACKET

2

20S-43-31420

LEVER,L.H.

3

195-61-34130

BEARING

4

20S-43-31430

SHAFT

5

04010-00519

KEY

6

20S-43-31610

LEVER,R.H.

7

20S-43-31441

LEVER

8

01010-50830

BOLT

9

01602-20825

WASHER,SPRING

10

01010-51025

BOLT

11

01643-31032

WASHER

12

203-43-41340

KNOB

13

01225-40625

SCREW

14

20S-43-11230

COVER

15

04248-31022

ROD

16

04248-31012

ROD

17

20S-43-12150

YOKE,L.H. THREAD

18

20T-43-31350

ROD

19

01508-41006

NUT,L.H. THREAD

20

04205-10822

PIN

21

04050-12012

PIN,COTTER

22

20S-43-21570

YOKE

23

01582-11008

NUT

24

04205-10520

PIN

25

04050-11210

PIN,COTTER

|$$28

====================

Выбрано товаров: 28