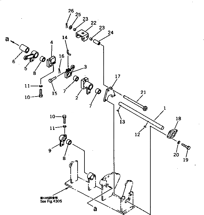
Запчасти Komatsu PC30-6 РЫЧАГ УПРАВЛ-Я ХОДОМ (/) (ДЛЯ I.S.O. PATTERN) (КРОМЕ ЯПОН.) СИСТЕМА УПРАВЛЕНИЯ И ОСНОВНАЯ РАМА

Схема запчастей Komatsu PC30-6 - РЫЧАГ УПРАВЛ-Я ХОДОМ (/) (ДЛЯ I.S.O. PATTERN) (КРОМЕ ЯПОН.) СИСТЕМА УПРАВЛЕНИЯ И ОСНОВНАЯ РАМА
FIT
1:1
100%

Артикул

Название

Примечание

Количество

G-1

20S-43-X1400

ARM GROUP

|$$2

====================

1

20S-43-33420

SHAFT

2

20S-43-33440

LEVER

3

20S-43-33430

LEVER

4

20S-43-31512

LEVER

5

20S-43-33470

LEVER

6

20S-43-33510

COLLAR

7

195-43-43190

BEARING

8

195-61-34130

BEARING

9

20S-43-33460

LEVER

10

01010-50830

BOLT

11

01602-20825

WASHER,SPRING

12

04010-00516

KEY

13

04010-00519

KEY

14

20S-43-31541

PLATE

15

04205-10625

PIN

16

04050-11612

PIN,COTTER

17

20S-43-31570

BRACKET

18

20T-43-31310

BEARING

19

01010-50825

BOLT

20

01602-20825

WASHER,SPRING

21

20S-43-31590

PIN

22

20S-43-33480

BRACKET

23

20S-43-31560

BUSHING

24

20S-43-33490

COLLAR

25

01641-21016

WASHER

26

04050-13020

PIN,COTTER

|$$29

====================

Выбрано товаров: 0