Запчасти Komatsu PC30-6 ОМЫВАТЕЛЬ СТЕКЛА ЧАСТИ КОРПУСА

Схема запчастей Komatsu PC30-6 - ОМЫВАТЕЛЬ СТЕКЛА ЧАСТИ КОРПУСА
FIT
1:1
100%

Артикул

Название

Примечание

Количество

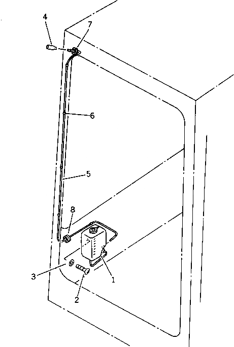
G-1

20T-06-X3100

WINDOW WASHER GROUP

|$$2

====================

1

20T-06-23140

TANK

2

01220-40508

SCREW

3

01641-20508

WASHER

4

205-06-61220

NOZZLE ASS'Y

5

205-06-71470

HOSE

6

203-06-21150

CLIP

7

08037-02512

GROMMET

8

08037-01008

GROMMET

|$$11

====================

Выбрано товаров: 11