Качественные детали и логистика
Оригинальные и аналоговые запчасти с доставкой по России, Казахстану и Беларуси
©2022 PartSell ООО "Система" ИНН 2463123282 ОГРН 1212400004838
Центральный офис: г. Красноярск, Академика Киренского, д.87, пом.4
Телефон: 8 (800) 777-65-74 Email: zakaz@partsell.ru
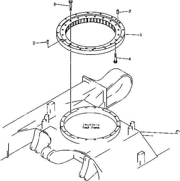
ПОВОРОТН. КРУГ
№
Артикул
Название
Примечание
Количество
1
20S-25-71102
CIRCLE,SWING
20S-25-71101
2
04020-01434
PIN,DOWEL
3
01010-51270
BOLT
4
01010-51260
Выбрано товаров: 0