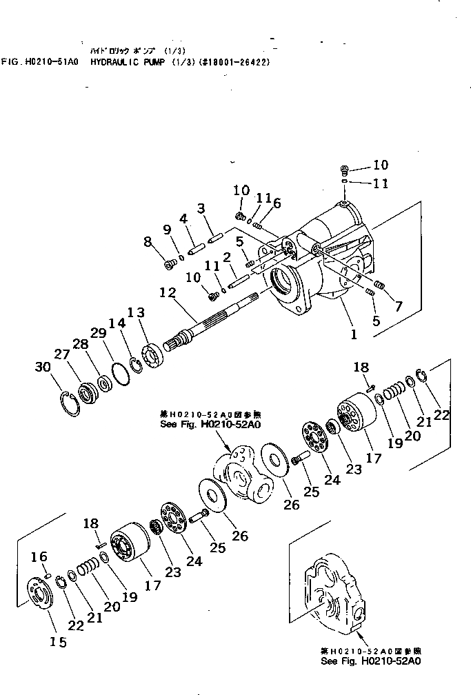
Запчасти Komatsu PC30-7 ГИДР. НАСОС. (/)(№8-) ГИДРАВЛИКА

Схема запчастей Komatsu PC30-7 - ГИДР. НАСОС. (/)(№8-) ГИДРАВЛИКА
FIT
1:1
100%

Артикул

Название

Примечание

Количество

|$0

20S-60-72110

HYDRAULIC PUMP ASS'Y

|$3

UC4100325045

HOUSING ASS'Y

1

HOUSING

2

PISTON

3

PISTON

4

BARREL

5

PLUG

6

UC1701564907

ORIFICE

7

UC1180769066

ORIFICE

8

UC1198273603

PLUG

9

07000-12011

O-RING

10

UC1198273502

PLUG

11

07000-11008

O-RING

12

UC1100282758

SHAFT

13

UC1100220383

BEARING

14

UC1302128009

RING,SNAP

15

UC1100130051

PLATE,CONTROL

16

UC1302179034

PIN

17

UC1100282749

BLOCK,CYLINDER

18

UC1607854079

PIN

19

UC1100281214

SEAT

20

UC1100220365

SPRING

21

UC1100220338

SEAT

22

04065-02812

RING,SNAP

23

UC1100195737

GUIDE

24

UC1100212575

RETAINER

25

UC4607642728

PISTON

26

UC1100220329

PLATE

27

UC1100156989

CASE

28

UC1100058389

SEAL,OIL

29

UC1300249003

O-RING

30

04065-06020

RING,SNAP

Выбрано товаров: 32