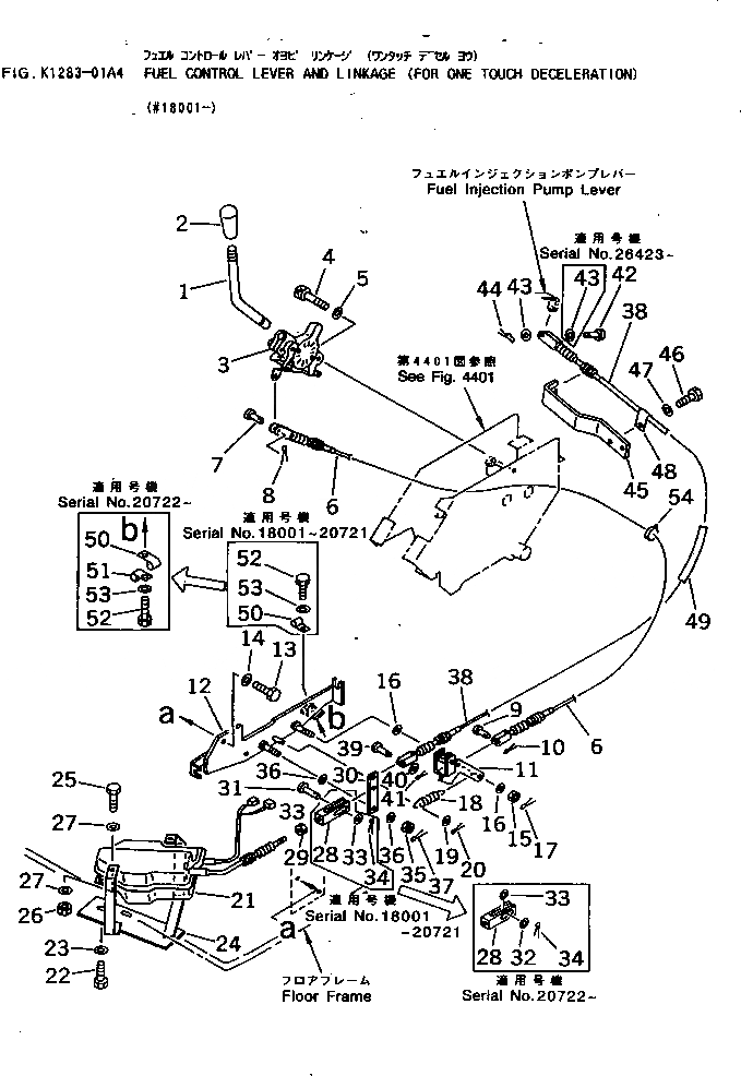
Запчасти Komatsu PC30-7 РЫЧАГ УПРАВЛ-Я ПОДАЧЕЙ ТОПЛИВА И МЕХАНИЗМ (ДЛЯ ONE TOUCH DECELERATION) КАБИНА ОПЕРАТОРА И СИСТЕМА УПРАВЛЕНИЯ

Схема запчастей Komatsu PC30-7 - РЫЧАГ УПРАВЛ-Я ПОДАЧЕЙ ТОПЛИВА И МЕХАНИЗМ (ДЛЯ ONE TOUCH DECELERATION) КАБИНА ОПЕРАТОРА И СИСТЕМА УПРАВЛЕНИЯ
FIT
1:1
100%

Артикул

Название

Примечание

Количество

1

20T-43-77111

LEVER ASS'Y

2

203-43-44360

KNOB

3

20T-43-77120

CLUTCH

4

01252-41025

BOLT

5

01643-31032

WASHER

6

20T-972-7210

CABLE

7

04205-10618

PIN

8

04050-11612

PIN,COTTER

9

04205-10822

PIN

10

04050-12015

PIN,COTTER

11

20T-972-7130

LEVER

12

20T-972-7110

BRACKET

13

01010-51025

BOLT

14

01643-31032

WASHER

15

01590-30809

NUT

16

01643-30823

WASHER

17

04050-12015

PIN,COTTER

18

120-10-13350

SPRING

19

01643-30623

WASHER

20

04050-11612

PIN,COTTER

21

20T-972-7190

MOTOR

22

01010-50820

BOLT

23

01643-30823

WASHER

24

20T-972-7140

BRACKET

25

01016-51040

BOLT

26

01580-11008

NUT

27

01643-31032

WASHER

28

20T-972-7240

YOKE

29

01580-10605

NUT

30

20T-972-7120

LEVER

31

04205-10825

PIN

32

01643-30823

WASHER

33

01641-20812

WASHER

34

04050-12015

PIN,COTTER

35

01590-30809

NUT

36

01643-30823

WASHER

37

04050-12015

PIN,COTTER

38

20T-972-7220

CABLE

39

04205-10820

PIN

39

04205-10822

PIN

40

01641-20812

WASHER

41

04050-12015

PIN,COTTER

42

04205-30820

PIN

43

01643-30823

WASHER

43

01643-30823

WASHER

44

04052-10833

PIN,SNAP

45

20T-43-77141

BRACKET

46

01010-50820

BOLT

47

01643-30823

WASHER

48

08036-21014

CLIP

49

08017-31311

CONDUIT

50

08036-91214

CLIP

51

08036-03014

CLIP

52

01010-51020

BOLT

53

01643-31032

WASHER

54

08034-00823

BAND

Выбрано товаров: 56