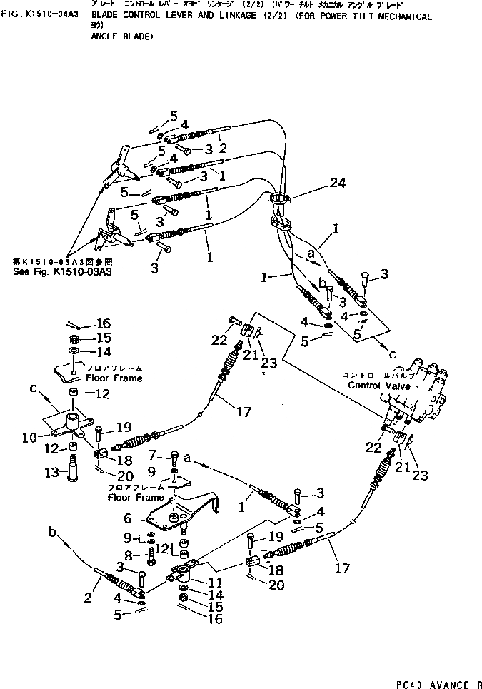
Запчасти Komatsu PC30-7 РЫЧАГ УПРАВЛЕНИЯ ОТВАЛОМ И МЕХАНИЗМ (/) (ДЛЯ НАКЛОНЯЕМ. МЕХАНИЧ. ОТВАЛ С ИЗМ. УГЛОМ ПОВОРОТА) КАБИНА ОПЕРАТОРА И СИСТЕМА УПРАВЛЕНИЯ

Схема запчастей Komatsu PC30-7 - РЫЧАГ УПРАВЛЕНИЯ ОТВАЛОМ И МЕХАНИЗМ (/) (ДЛЯ НАКЛОНЯЕМ. МЕХАНИЧ. ОТВАЛ С ИЗМ. УГЛОМ ПОВОРОТА) КАБИНА ОПЕРАТОРА И СИСТЕМА УПРАВЛЕНИЯ
FIT
1:1
100%

Артикул

Название

Примечание

Количество

1

20T-43-71321

CABLE,LIFT

|1

20T-43-71320

CABLE,LIFT

2

20T-910-7281

CABLE,TILT

|2

20T-910-7280

CABLE,TILT

3

04205-10820

PIN

4

01641-20812

WASHER

5

04050-12018

PIN,COTTER

6

20T-910-7210

BRACKET

7

01010-51020

BOLT

8

01010-51025

BOLT

9

01643-31032

WASHER

10

20T-43-71331

LEVER,LIFT

11

20T-910-7230

LEVER,TILT

12

195-61-34120

BEARING

13

20T-43-71341

SHAFT

14

01643-31232

WASHER

15

01590-31215

NUT

16

04050-12022

PIN,COTTER

17

20T-43-71350

CABLE

18

11S-43-16150

YOKE

19

04205-10822

PIN

20

04050-12015

PIN,COTTER

21

04210-20500

YOKE

22

04205-10514

PIN

23

04052-10530

PIN,SNAP

24

08034-00823

BAND

Выбрано товаров: 26