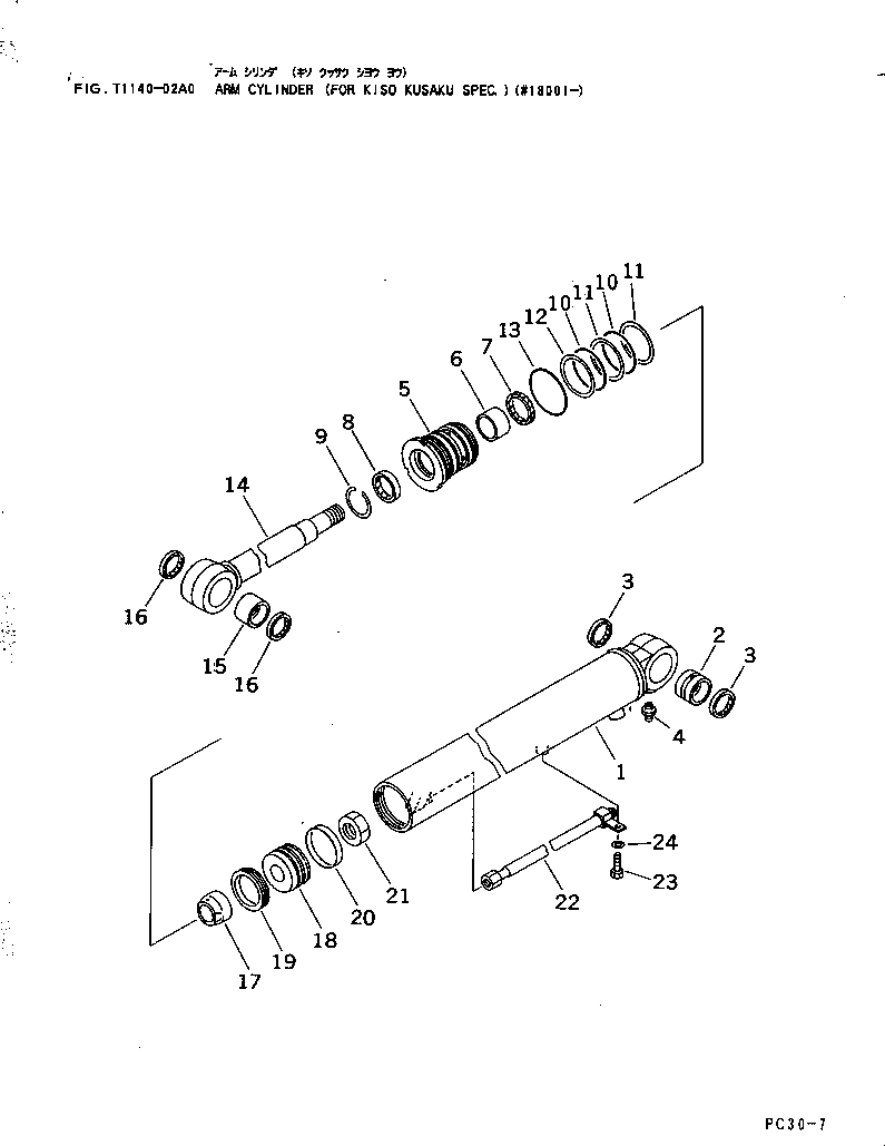
Запчасти Komatsu PC30-7 ЦИЛИНДР РУКОЯТИ(ДЛЯ KISO KСШАKU СПЕЦ-Я.) РАБОЧЕЕ ОБОРУДОВАНИЕ

Схема запчастей Komatsu PC30-7 - ЦИЛИНДР РУКОЯТИ(ДЛЯ KISO KСШАKU СПЕЦ-Я.) РАБОЧЕЕ ОБОРУДОВАНИЕ
FIT
1:1
100%

Артикул

Название

Примечание

Количество

G1

20S-63-X2281

ARM CYLINDER GROUP

|1

20S-63-02281

ARM CYLINDER ASS'Y

1

20S-63-67241

CYLINDER,ARM

2

707-76-45190

BUSHING

3

07145-00045

SEAL,DUST (K3)

4

07020-00000

FITTING,GREASE

5

707-29-85040

HEAD,CYLINDER

6

07177-04530

BUSHING

7

707-51-45210

PACKING,ROD (K3)

8

112-63-15370

SEAL,DUST (K3)

9

07179-12057

RING,SNAP

10

07000-12080

O-RING (K3)

11

707-35-52770

RING,BACK-UP (K3)

12

707-35-52680

RING,BACK-UP (K3)

13

07000-02085

O-RING (K3)

14

20S-63-67220

ROD,PISTON

15

07143-10404

BUSHING

16

07145-00040

SEAL,DUST (K3)

17

707-71-60530

PLUNGER

18

707-36-85070

PISTON

19

707-44-85180

RING,PISTON (K3)

20

707-39-85120

RING,WEAR (K3)

21

01580-03024

NUT

22

20S-63-67270

TUBE

23

01010-51020

BOLT

24

01643-31032

WASHER

Выбрано товаров: 26