Запчасти Komatsu PC30-7 ГИДРОМОЛОТ РУКОЯТЬ (CHISEL)(№899-) РАБОЧЕЕ ОБОРУДОВАНИЕ

Схема запчастей Komatsu PC30-7 - ГИДРОМОЛОТ РУКОЯТЬ (CHISEL)(№899-) РАБОЧЕЕ ОБОРУДОВАНИЕ
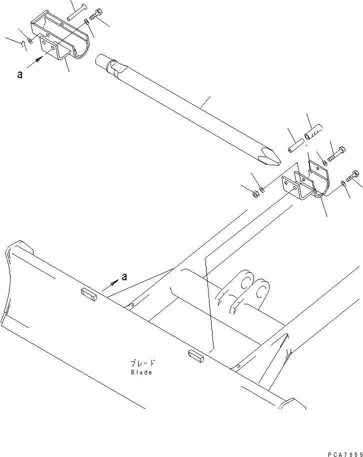
1
2
3
4
4
5
5
6
7
8
9
9
10
11
12
13
FIT
1:1
100%

Артикул

Название

Примечание

Количество

1

20S-970-7220

CHISEL

2

20R-970-7230

BRACKET

3

20R-970-7240

BRACKET

4

01010-51025

BOLT

5

01643-31032

WASHER

6

20R-970-7250

TUBE

7

6164-91-6120

HOSE

8

01011-51005

BOLT

9

01643-31032

WASHER

10

01580-11008

NUT

11

23S-43-14310

PIN

12

01641-21626

WASHER

13

04052-11664

PIN,SNAP

Выбрано товаров: 13