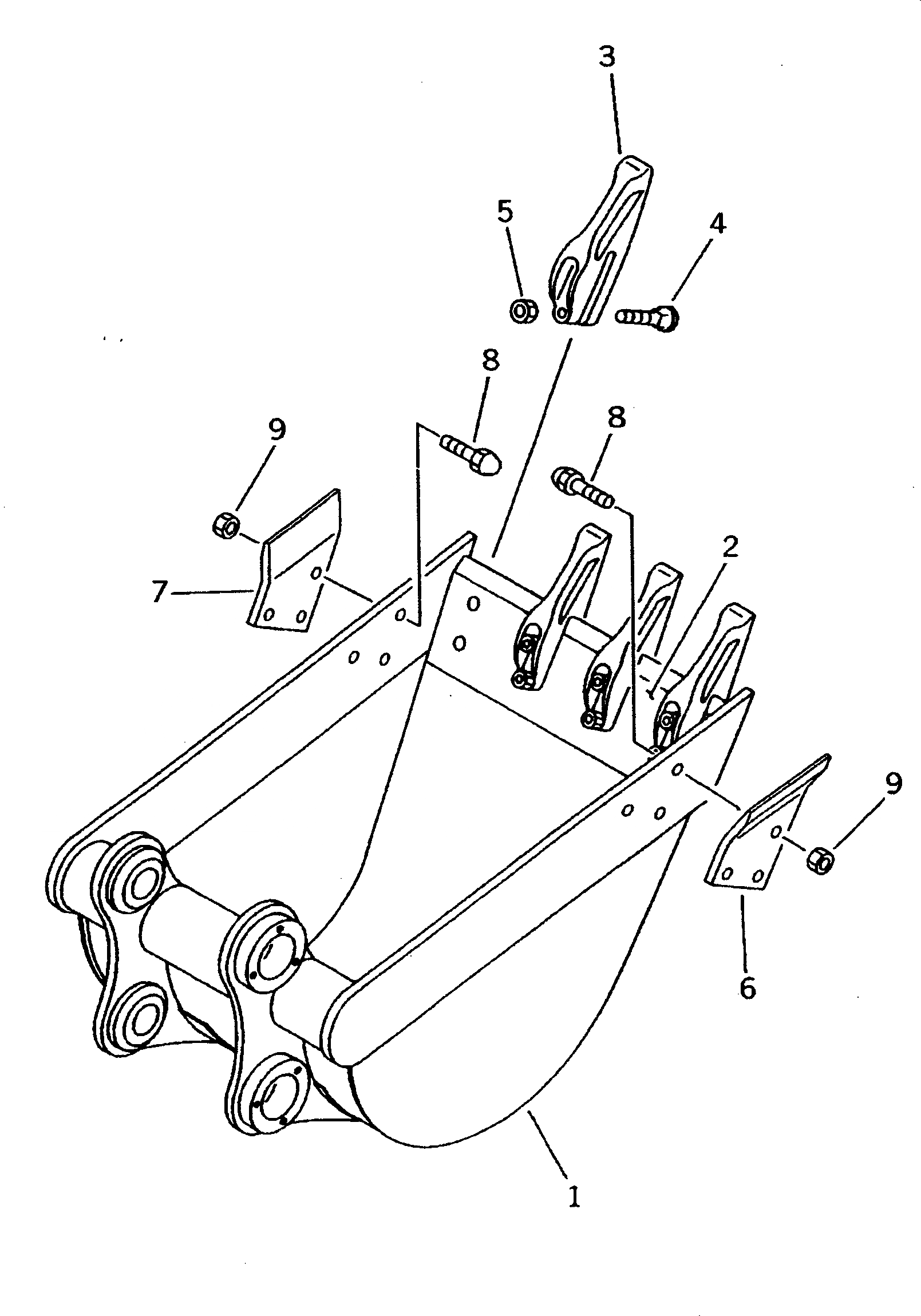
Запчасти Komatsu PC30-7 КОВШ¤ .8M (MINI .M) MM РАБОЧЕЕ ОБОРУДОВАНИЕ

Схема запчастей Komatsu PC30-7 - КОВШ¤ .8M (MINI .M) MM РАБОЧЕЕ ОБОРУДОВАНИЕ
FIT
1:1
100%

Артикул

Название

Примечание

Количество

|1

20R-70-00330

BUCKET ASS'Y

1

20R-70-71310

BUCKET,(425MM)

2

20R-70-71320

LIP (WELDED)

3

10E-70-22211

TOOTH

4

02090-11055

BOLT

5

09218-11614

NUT

6

20S-70-71330

CUTTER,SIDE¤ L.H.

7

20S-70-71340

CUTTER,SIDE¤ R.H.

8

20P-70-71351

BOLT

|8

20P-70-71350

BOLT

|8

01675-21443

BOLT

9

20P-70-71360

NUT

|9

01803-01415

NUT

Выбрано товаров: 13