Качественные детали и логистика
Оригинальные и аналоговые запчасти с доставкой по России, Казахстану и Беларуси
©2022 PartSell ООО "Система" ИНН 2463123282 ОГРН 1212400004838
Центральный офис: г. Красноярск, Академика Киренского, д.87, пом.4
Телефон: 8 (800) 777-65-74 Email: zakaz@partsell.ru
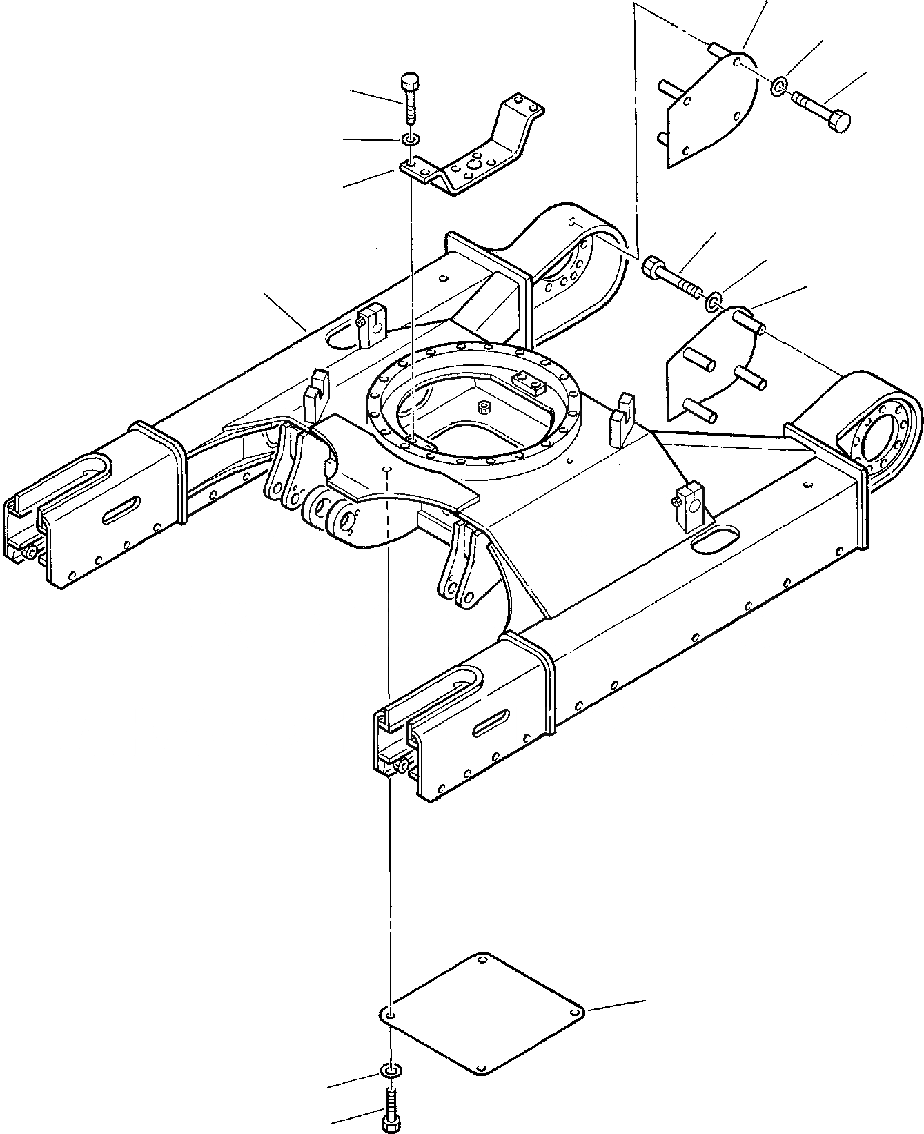
ГУСЕНИЧНАЯ РАМА (ДЛЯ РЕЗИН. SHOE)
№
Артикул
Название
Примечание
Количество
1
3F3026050
FRAME, TRACK
3F3026053
2
3F3026643
SUPPORT
3
801015136
BOLT
4
802170003
WASHER
5
3F3026052
PROTECTION
6
3F3026051
7
801015568
8
802170002
9
3F3026641
COVER
10
801015110
11
Выбрано товаров: 0