Запчасти Komatsu PC30-7 КОЛЕНВАЛ И ПОРШЕНЬ ДВИГАТЕЛЬ

Схема запчастей Komatsu PC30-7 - КОЛЕНВАЛ И ПОРШЕНЬ ДВИГАТЕЛЬ
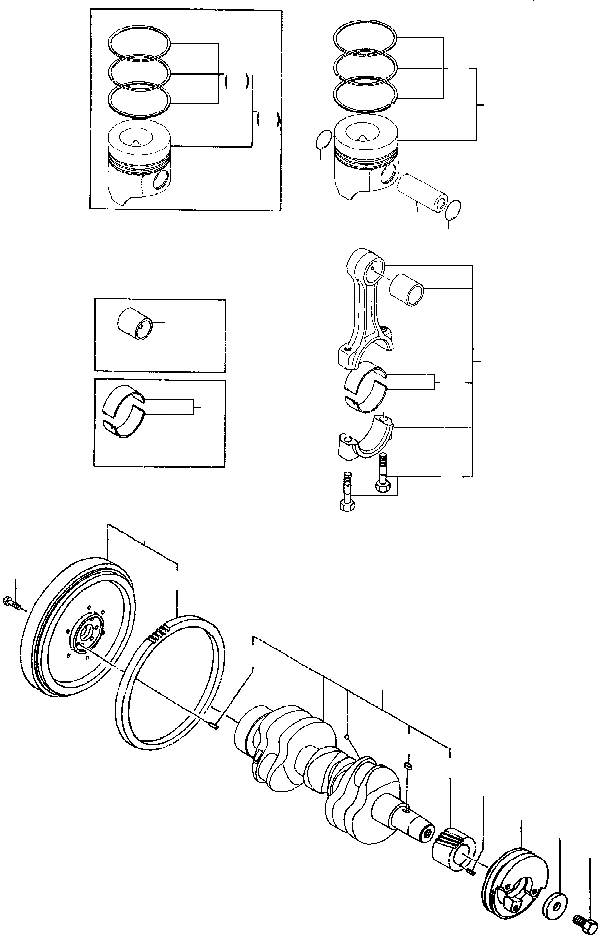
40
38
24
16
22
14
21
20
21
34
28
32
35
31
11
10
13
6
1
4
3
37
7
8
9
FIT
1:1
100%

Артикул

Название

Примечание

Количество

1

YMR000445

CRANKSHAFT, ASSY.

3

YMR000181

GEAR

4

YMR000369

KEY

6

YMR000097

PARALLEL PIN

7

YMR001072

PULLEY

8

YMR000300

WASHER

9

YMR000072

SCREW

10

YMR000055

BOLT

11

YMR000136

FLYWHEEL

13

YMR000050

GEAR, RING

14

YMR000127

ASSY, PISTON

16

YMR000128

RING SET, PISTON

20

YMR000182

PIN, PISTON

21

YMR000054

RING, SNAP

22

YMR000446

ASSY, PISTON (+0.25 mm)

24

YMR000454

RING SET (+0.25 mm)

28

YMR000471

CONNECTING ROD, ASSY.

31

YMR000070

SCREW

32

YMR000183

BEARING

34

YMR000103

BUSHING

35

YMR000184

BEARING (--0.25 mm)

37

YMR000363

PEG

38

YMR000999

ASSY, PISTON (+0.50 mm)

40

YMR001000

RING SET (+O.50 mm)

Выбрано товаров: 24