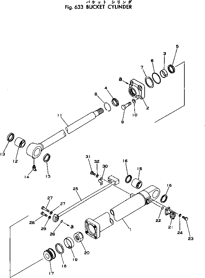
Запчасти Komatsu PC300-1 ЦИЛИНДР КОВША УПРАВЛ-Е РАБОЧИМ ОБОРУДОВАНИЕМ

Схема запчастей Komatsu PC300-1 - ЦИЛИНДР КОВША УПРАВЛ-Е РАБОЧИМ ОБОРУДОВАНИЕМ
FIT
1:1
100%

Артикул

Название

Примечание

Количество

|$0

207-63-76100

CYLINDER ASS'Y

1

207-63-76140

CYLINDER

2

206-63-76730

HEAD

3

07177-09035

BUSHING

4

195-63-94170

SEAL,DUST

5

707-51-90211

PACKING

6

07000-12135

O-RING

7

07146-02136

RING,BACK-UP

8

07179-00113

RING,SNAP

9

01010-83090

BOLT

10

01601-23075

WASHER,SPRING

11

207-63-76120

ROD

12

207-63-76170

BUSHING

13

205-70-62180

SEAL,DUST

14

07020-00675

FITTING,GREASE

15

206-63-66361

BUSHING

16

07145-00090

SEAL,DUST

17

707-36-14380

PISTON

18

707-44-14080

RING,PISTON

19

07155-01435

RING,WEAR

20

07165-16870

NUT,NYLON

21

207-63-76280

TUBE

22

07000-13035

O-RING

23

01010-51045

BOLT

24

01602-21030

WASHER,SPRING

25

207-63-76180

TUBE

26

07000-13035

O-RING

27

01010-51060

BOLT

28

01010-51055

BOLT

29

01643-31032

WASHER

30

07282-03411

CLAMP

31

01010-51020

BOLT

32

01602-21030

WASHER,SPRING

Выбрано товаров: 33