Запчасти Komatsu PC300-1 ВОЗД. СИСТЕМА (/) УПРАВЛ-Е РАБОЧИМ ОБОРУДОВАНИЕМ

Схема запчастей Komatsu PC300-1 - ВОЗД. СИСТЕМА (/) УПРАВЛ-Е РАБОЧИМ ОБОРУДОВАНИЕМ
FIT
1:1
100%

Артикул

Название

Примечание

Количество

|$0

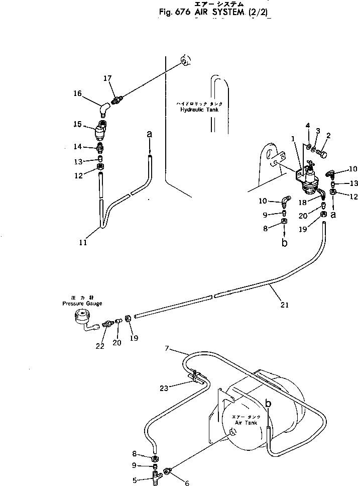
207-68-11241

REGULATOR

1

207-68-11240

REGULATOR

2

01010-30616

BOLT

3

01602-00619

WASHER,SPRING

4

01641-00608

WASHER

5

07835-00617

TEE

6

07326-10403

ADAPTER

7

07822-00622

TUBE

7

07822-00621

TUBE

8

07832-00614

NUT

9

07831-00612

SLEEVE

10

07834-00617

ELBOW

11

07822-00614

TUBE

12

07832-00614

NUT

13

07831-00612

SLEEVE

14

07836-00617

CONNECTOR

15

205-68-51180

VALVE

16

07323-30300

ELBOW

17

07325-10300

NIPPLE

18

07834-00413

ELBOW

19

07832-00410

NUT

20

07831-00411

SLEEVE

21

07822-00425

TUBE

22

07836-00410

CONNECTOR

23

08034-00823

BAND

Выбрано товаров: 0