Запчасти Komatsu PC300-1 АККУМУЛЯТОР И РЕЛЕ КОМПОНЕНТЫ ДВИГАТЕЛЯ И ЭЛЕКТРИКА

Схема запчастей Komatsu PC300-1 - АККУМУЛЯТОР И РЕЛЕ КОМПОНЕНТЫ ДВИГАТЕЛЯ И ЭЛЕКТРИКА
FIT
1:1
100%

Артикул

Название

Примечание

Количество

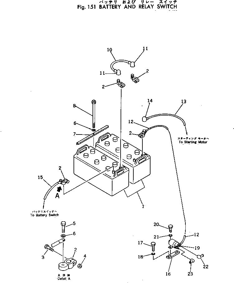
1

207-06-11790

BATTERY, WET

1

08000-02221

BATTERY, WET (OP)

2

08000-00000

TERMINAL, (+)

2

08000-00001

TERMINAL, (-)

3

01010-30830

BOLT

4

01580-00806

NUT

5

01050-31018

BOLT

6

01640-01016

WASHER

7

205-06-51380

CLAMP

8

207-06-11370

BOLT

9

01643-31232

WASHER

10

08028-15011

WIRE, 110MM

11

08038-00035

CAP

12

08028-12055

CABLE

13

08028-15275

WIRE, 2750MM

13

08028-15350

WIRE, 3500MM

14

154-06-13130

CAP

15

08028-15400

WIRE, 4000MM

16

207-06-11780

PLATE

17

01010-30825

BOLT

18

01602-00825

WASHER

19

600-815-2690

SWITCH

20

01010-30816

BOLT

21

01602-00825

WASHER,SPRING

22

08038-06031

CAP

23

08038-04030

CAP

Выбрано товаров: 26