Запчасти Komatsu PC300-1 КОВШ¤ .M¤ MM РАБОЧЕЕ ОБОРУДОВАНИЕ

Схема запчастей Komatsu PC300-1 - КОВШ¤ .M¤ MM РАБОЧЕЕ ОБОРУДОВАНИЕ
FIT
1:1
100%

Артикул

Название

Примечание

Количество

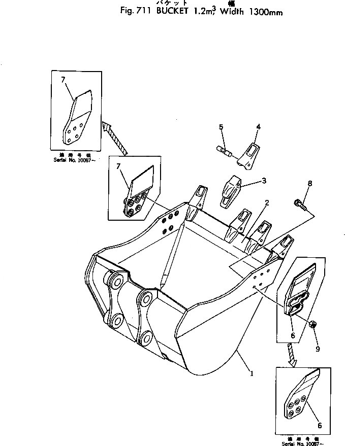
1

207-70-24111

BUCKET

2

207-70-24160

PLATE (WELDED)

3

207-70-14141

ADAPTER (WELDED)

4

207-70-14151

TOOTH

5

09244-02516

PIN

6

207-70-14191

CUTTER,L.H.

6

207-70-14190

CUTTER,L.H.

7

207-70-14231

CUTTER,R.H.

7

207-70-14230

CUTTER,R.H.

8

195-32-11230

BOLT

9

01803-02732

NUT

Выбрано товаров: 11