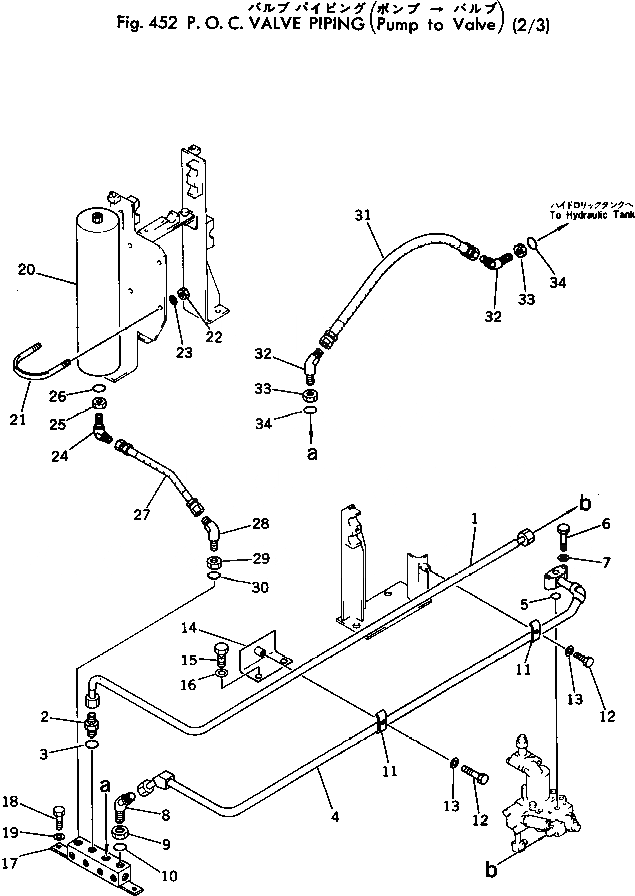
Запчасти Komatsu PC300-1 P.O.C. КЛАПАН ТРУБЫ (ИЗ НАСОСА В КЛАПАН) (/) ПОВОРОТН. И СИСТЕМА УПРАВЛЕНИЯS

Схема запчастей Komatsu PC300-1 - P.O.C. КЛАПАН ТРУБЫ (ИЗ НАСОСА В КЛАПАН) (/) ПОВОРОТН. И СИСТЕМА УПРАВЛЕНИЯS
FIT
1:1
100%

Артикул

Название

Примечание

Количество

1

207-62-16812

TUBE

2

07230-10422

UNION

3

07002-02034

O-RING

4

207-62-16822

TUBE

5

07000-03025

O-RING

6

01010-31055

BOLT

7

01643-31032

WASHER

8

07234-10422

ELBOW

9

07239-12009

NUT

10

07002-02034

O-RING

11

207-62-16760

CLAMP

12

01010-31020

BOLT

13

01643-31032

WASHER

14

207-62-16754

CLAMP

15

01010-31225

BOLT

16

01643-31232

WASHER

17

207-62-16830

BLOCK

18

01010-31230

BOLT

19

01643-31232

WASHER

20

208-60-13110

ACCUMULATOR,(SEE FIG.481)

21

07283-21185

CLIP

22

01599-01214

NUT

23

01643-31232

WASHER

24

07232-10315

ELBOW

25

07239-12009

NUT

26

07002-02034

O-RING

27

207-62-16891

HOSE

28

07234-10315

ELBOW

29

07239-12009

NUT

30

07002-02034

O-RING

31

07102-20608

HOSE

32

07234-10628

ELBOW

33

07239-12410

NUT

34

07002-02434

O-RING

Выбрано товаров: 34