Запчасти Komatsu PC300-1 КАБИНА РАМА ОСНОВНАЯ РАМА И КАБИНА

Схема запчастей Komatsu PC300-1 - КАБИНА РАМА ОСНОВНАЯ РАМА И КАБИНА
FIT
1:1
100%

Артикул

Название

Примечание

Количество

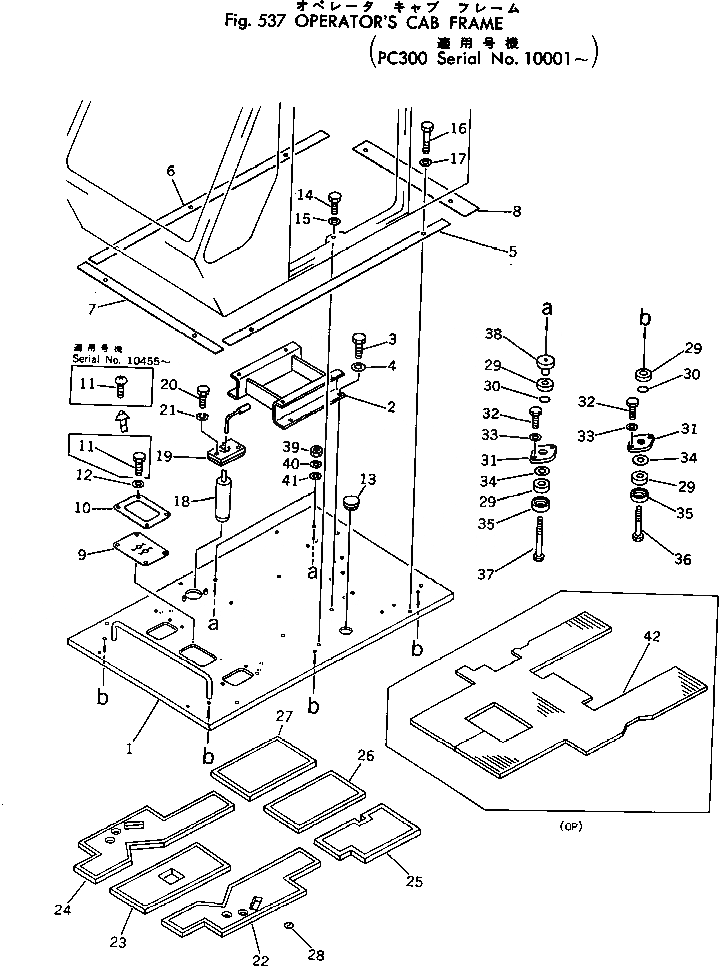
1

207-54-18470

FRAME

2

207-54-18560

BRACKET

3

01010-31230

BOLT

4

01643-31232

WASHER

5

207-54-18450

SHEET

6

207-54-18460

SHEET

7

207-54-18430

SHEET

8

207-54-18440

SHEET

9

203-54-31270

COVER

10

203-54-31260

PLATE

11

01220-40616

SCREW

11

01010-30616

BOLT

12

01643-30623

WASHER

13

09415-05016

CAP

14

01010-31230

BOLT

15

01643-31232

WASHER

16

01010-31270

BOLT

17

01643-31232

WASHER

18

207-54-11962

PIN

19

207-54-15620

COVER

20

01010-30816

BOLT

21

01602-00825

WASHER,SPRING

22

207-54-18480

WOOL,GLASS

23

207-54-18490

WOOL,GLASS

24

207-54-18510

WOOL,GLASS

25

207-54-18520

WOOL,GLASS

26

207-54-18530

WOOL,GLASS

27

207-54-18540

WOOL,GLASS

28

04431-30000

PLATE

29

203-54-21110

CUSHION

30

07000-02021

O-RING

31

207-54-15550

FLANGE

32

01010-31240

BOLT

33

01643-31232

WASHER

34

207-54-15570

SPACER

35

201-54-21860

COLLAR

36

01011-31600

BOLT

37

207-54-15540

BOLT

38

207-54-18420

COLLAR

39

01580-01613

NUT

40

01643-31645

WASHER

41

01643-32060

WASHER

42

207-54-18720

MAT (OP)

Выбрано товаров: 0