Запчасти Komatsu PC300-1 ГИДР. БАК. УПРАВЛ-Е РАБОЧИМ ОБОРУДОВАНИЕМ

Схема запчастей Komatsu PC300-1 - ГИДР. БАК. УПРАВЛ-Е РАБОЧИМ ОБОРУДОВАНИЕМ
FIT
1:1
100%

Артикул

Название

Примечание

Количество

|$0

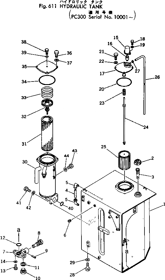
207-60-00011

HYDRAULIC TANK ASS'Y

|$1

207-60-00010

HYDRAULIC TANK ASS'Y

1

207-60-11113

TANK

1

207-60-11112

TANK

2

07051-01000

CAP

3

07056-10045

STRAINER

4

203-60-31160

TUBE

5

203-60-31100

ELBOW ASS'Y

6

07042-30108

PLUG

|$9

155-60-12500

VALVE ASS'Y

7

155-60-12510

BODY

8

155-60-12520

VALVE

9

04025-00532

PIN

10

07040-12412

PLUG

11

07005-02416

GASKET

12

07000-03025

O-RING

13

01010-31025

BOLT,SPRING

14

01602-01030

WASHER

15

205-60-65180

CAP

16

207-68-11270

VALVE,SAFETY

17

208-60-11143

COVER

18

01010-31020

BOLT

19

01643-31032

WASHER

20

07000-05180

O-RING

21

01010-31225

BOLT

22

01643-31232

WASHER

23

12R-60-11230

SPRING

24

207-60-11142

SUPPORT

25

207-60-11130

STRAINER

26

205-60-65190

HOSE

27

07281-00197

CLAMP

28

01010-31660

BOLT

29

01643-31645

WASHER

|$33

207-60-00020

FILTER ASS'Y

30

207-60-11162

CASE

31

205-60-51430

ELEMENT

32

195-60-16300

VALVE ASS'Y

33

195-60-16330

SPRING

34

07000-05180

O-RING

35

207-60-11170

COVER

36

01010-31235

BOLT

37

01643-31232

WASHER

38

07060-01230

BOLT

39

07002-01223

O-RING

40

07000-02070

O-RING

41

01010-31240

BOLT

42

01643-31232

WASHER

43

01010-31225

BOLT

44

01643-31232

WASHER

45

07092-00000

CAP,(FOR VANDALISM) (NOT SHOWN)

Выбрано товаров: 50