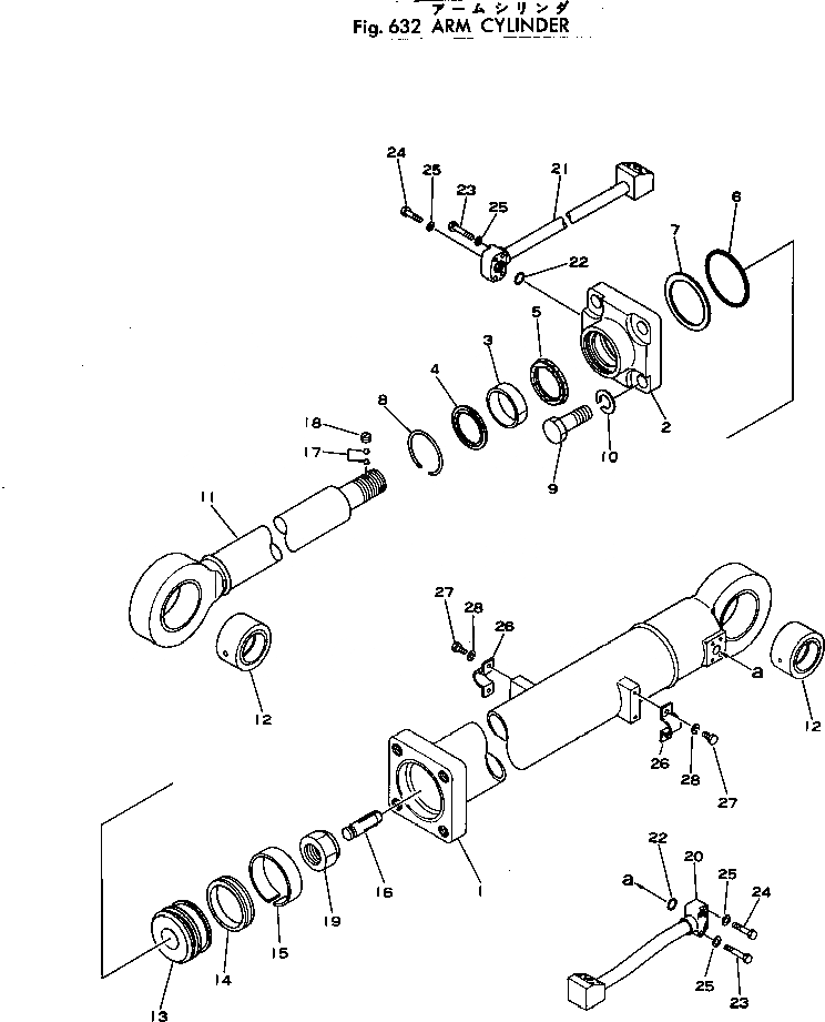
Запчасти Komatsu PC300-1 ЦИЛИНДР РУКОЯТИ УПРАВЛ-Е РАБОЧИМ ОБОРУДОВАНИЕМ

Схема запчастей Komatsu PC300-1 - ЦИЛИНДР РУКОЯТИ УПРАВЛ-Е РАБОЧИМ ОБОРУДОВАНИЕМ
FIT
1:1
100%

Артикул

Название

Примечание

Количество

|1

207-63-66100

CYLINDER ASS'Y

1

207-63-66140

CYLINDER

2

206-63-66730

HEAD

3

07177-01135

BUSHING

4

198-63-94170

SEAL,DUST

5

707-51-11110

PACKING

6

07000-15150

O-RING

7

07146-05152

RING,BACK-UP

8

07179-00135

RING,SNAP

9

01011-83600

BOLT

10

01601-23690

WASHER,SPRING

11

207-63-66120

ROD

12

207-63-56190

BUSHING

13

206-63-66780

PISTON

14

707-44-16080

RING,PISTON

15

07155-01640

RING,WEAR

16

207-63-66160

PLUNGER

17

04260-00952

BALL

18

206-63-66770

SCREW

19

07165-16870

NUT,NYLON

20

207-63-66280

TUBE

21

207-63-66180

TUBE

22

07000-13035

O-RING

23

01010-51060

BOLT

24

01010-51055

BOLT

25

01643-31032

WASHER

26

07282-03411

CLAMP

27

01010-51020

BOLT

28

01602-21030

WASHER,SPRING

Выбрано товаров: 29