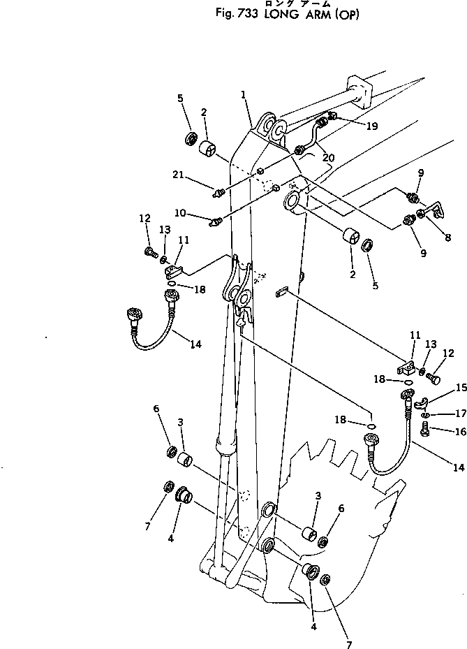
Запчасти Komatsu PC300-1 УДЛИНН. РУКОЯТЬ РАБОЧЕЕ ОБОРУДОВАНИЕ

Схема запчастей Komatsu PC300-1 - УДЛИНН. РУКОЯТЬ РАБОЧЕЕ ОБОРУДОВАНИЕ
FIT
1:1
100%

Артикул

Название

Примечание

Количество

|1

207-943-0010

LONG ARM ASS'Y

1

ARM,LONG

2

207-70-12101

BUSHING

3

207-70-12171

BUSHING

4

207-70-12212

BUSHING

5

07145-00110

SEAL,DUST

6

205-70-62180

SEAL,DUST

7

207-70-12270

SEAL,DUST

8

207-70-12310

TUBE

9

07213-51013

CONNECTOR

10

07020-00000

FITTING,GREASE

11

207-943-1150

FLANGE

12

01010-31435

BOLT

13

01643-31445

WASHER

14

07127-21013

HOSE

15

07371-21049

FLANGE,SPLIT

16

07372-01030

BOLT

17

01643-51032

WASHER

|17

01602-01030

WASHER,SPRING

18

07000-13032

O-RING

19

205-70-51380

ELBOW

20

205-70-51370

HOSE

21

07020-00000

FITTING,GREASE

Выбрано товаров: 23