Запчасти Komatsu PC300-1 ДОПОЛН. ГИДРОЛИНИЯ¤ НАВЕСН. ОБОРУД (/) ОПЦИОННЫЕ КОМПОНЕНТЫ

Схема запчастей Komatsu PC300-1 - ДОПОЛН. ГИДРОЛИНИЯ¤ НАВЕСН. ОБОРУД (/) ОПЦИОННЫЕ КОМПОНЕНТЫ
FIT
1:1
100%

Артикул

Название

Примечание

Количество

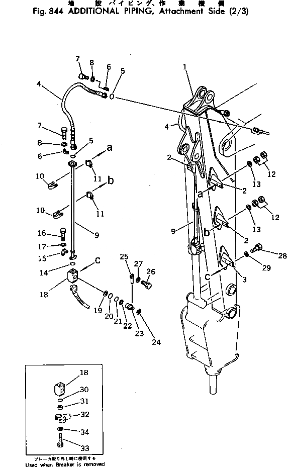
1

207-970-1320

ARM

2

207-970-1330

BRACKET (WELDED)

3

207-970-1190

BRACKET (WELDED)

4

07127-01018

HOSE

5

07000-13032

O-RING

6

07371-31049

FLANGE,SPLIT

7

07372-21035

BOLT

8

01643-51032

WASHER

9

207-970-1460

TUBE

10

205-970-1660

CLIP

11

205-970-1670

SEAT

12

01582-11411

NUT

13

01643-31445

WASHER

14

07000-13032

O-RING

15

07371-31049

FLANGE,SPLIT

16

07372-21035

BOLT

17

01643-51032

WASHER

18

205-970-4260

BODY

19

07001-03048

RING,BACK-UP

20

07000-13048

O-RING

21

07000-13042

O-RING

22

07001-03042

RING,BACK-UP

23

205-970-4270

ROTOR

24

04065-05220

RING,SNAP

25

202-970-2210

PIN

26

01010-51230

BOLT

27

01643-31232

WASHER

28

01010-61635

BOLT

29

01643-31645

WASHER

30

07000-13032

O-RING

31

07378-11000

HEAD

32

07371-31049

FLANGE,SPLIT

33

07372-21035

BOLT

34

01643-51032

WASHER

Выбрано товаров: 34