Запчасти Komatsu PC300-2 ГИДР. БАК.(№-9) УПРАВЛ-Е РАБОЧИМ ОБОРУДОВАНИЕМ

Схема запчастей Komatsu PC300-2 - ГИДР. БАК.(№-9) УПРАВЛ-Е РАБОЧИМ ОБОРУДОВАНИЕМ
FIT
1:1
100%

Артикул

Название

Примечание

Количество

|$0

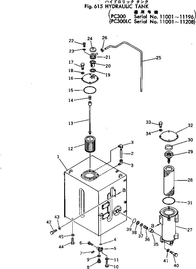
207-60-00013

HYDRAULIC TANK ASS'Y

|$1

207-60-00012

HYDRAULIC TANK ASS'Y

1

207-60-11115

TANK

1

207-60-11114

TANK

2

203-60-31160

TUBE

3

203-60-31100

ELBOW ASS'Y

4

07000-03025

O-RING

|$7

155-60-12500

VALVE ASS'Y

5

155-60-12510

BODY

6

155-60-12520

VALVE

7

04025-00532

PIN

8

07040-12412

PLUG

9

07005-02416

GASKET

10

01010-51025

BOLT

11

01602-21030

WASHER,SPRING

12

207-60-11130

STRAINER

13

207-60-11143

SUPPORT

14

12R-60-11230

SPRING

15

07000-05180

O-RING

16

203-60-31192

COVER

17

01010-51035

BOLT

18

01643-31032

WASHER

19

205-60-51460

GASKET

20

205-60-51480

SCREEN

21

201-60-12171

FILLER

22

01220-40516

SCREW

23

01601-20513

WASHER

24

201-60-12190

CAP ASS'Y

25

207-60-11350

TUBE

26

07280-01110

CLAMP

|$30

207-60-00021

FILTER ASS'Y

|$31

205-60-00041

FILTER ASS'Y

27

207-60-12110

CASE

27

205-60-65241

CASE

28

205-60-51430

ELEMENT

29

12R-60-11300

VALVE ASS'Y

30

12R-60-11390

SPRING

31

07000-05180

O-RING

32

205-60-65130

COVER

33

01010-51230

BOLT

34

01643-31232

WASHER

35

205-60-65250

POPPET

36

706-76-71190

SPRING

37

205-60-65260

SEAT

38

04065-05020

RING,SNAP

39

07000-02070

O-RING

40

01010-51245

BOLT

41

01643-31232

WASHER

42

01010-51225

BOLT

43

01643-31232

WASHER

44

01010-51635

BOLT

45

01643-31645

WASHER

Выбрано товаров: 52