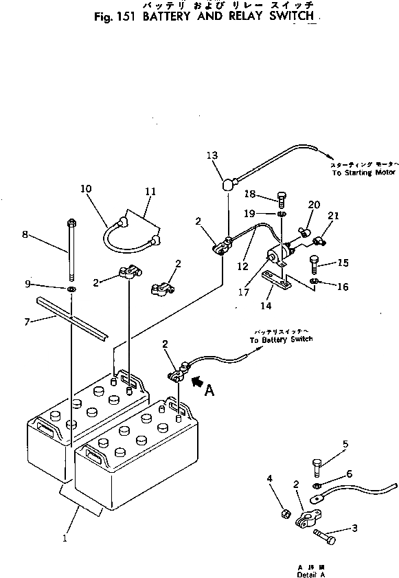
Запчасти Komatsu PC300-2 АККУМУЛЯТОР И РЕЛЕ КОМПОНЕНТЫ ДВИГАТЕЛЯ И ЭЛЕКТРИКА

Схема запчастей Komatsu PC300-2 - АККУМУЛЯТОР И РЕЛЕ КОМПОНЕНТЫ ДВИГАТЕЛЯ И ЭЛЕКТРИКА
FIT
1:1
100%

Артикул

Название

Примечание

Количество

1

207-06-11790

BATTERY (195G51)

1

08000-02221

BATTERY (C200)

2

08000-00000

TERMINAL, (+)

2

08000-00001

TERMINAL, (-)

3

01010-30830

BOLT

4

01580-00806

NUT

5

01050-31018

BOLT

6

01640-01016

WASHER

7

205-06-51380

CLAMP

8

207-06-11370

BOLT

9

01643-31232

WASHER

10

08028-15011

WIRE, 110MM

11

08038-00035

CAP

12

08028-12045

CABLE

13

154-06-13130

CAP

14

207-06-11780

PLATE

15

01010-50825

BOLT

16

01602-20825

WASHER,SPRING

17

600-815-2690

SWITCH,HEATER

18

01010-50816

BOLT

19

01602-20825

WASHER

20

08038-06031

CAP

21

08038-04030

CAP

Выбрано товаров: 23