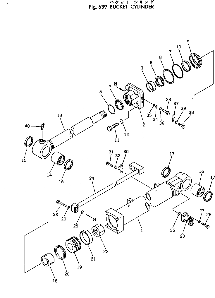
Запчасти Komatsu PC300-2 ЦИЛИНДР КОВША УПРАВЛ-Е РАБОЧИМ ОБОРУДОВАНИЕМ

Схема запчастей Komatsu PC300-2 - ЦИЛИНДР КОВША УПРАВЛ-Е РАБОЧИМ ОБОРУДОВАНИЕМ
FIT
1:1
100%

Артикул

Название

Примечание

Количество

|$0

207-63-76500

CYLINDER ASS'Y

1

207-63-76540

CYLINDER

2

206-63-56731

HEAD

3

07177-09035

BUSHING

4

195-63-94170

SEAL,DUST

5

07179-00113

RING,SNAP

6

707-51-90211

PACKING

7

07000-12145

O-RING

8

07146-02146

RING,BACK-UP

9

206-63-56631

COLLAR

10

206-63-56780

RING

11

01010-83090

BOLT

12

01601-23075

WASHER,SPRING

13

207-63-76520

ROD,PISTON

14

207-63-76170

BUSHING

15

205-70-62180

SEAL,DUST

16

206-63-66361

BUSHING

17

07145-00090

SEAL,DUST

18

206-63-56890

PLUNGER

19

707-36-14350

PISTON

20

707-44-14080

RING,PISTON

21

07155-01435

RING,WEAR

22

07165-16870

NUT

23

207-63-76281

TUBE

24

207-63-76580

TUBE

25

07000-13035

O-RING

26

01010-51045

BOLT

27

01602-21030

WASHER,SPRING

28

01010-51060

BOLT

29

01643-31032

WASHER

30

07282-03411

CLAMP

31

01010-51020

BOLT

32

01602-21030

WASHER,SPRING

33

707-71-73250

CAPILLARY

34

07000-11009

O-RING,BACK-UP

35

07001-01009

RING

36

07002-11823

O-RING

37

206-63-56771

COVER

38

01010-51020

BOLT

39

01602-21030

WASHER,SPRING

40

07020-00675

FITTING,GREASE

Выбрано товаров: 41