Запчасти Komatsu PC300-2 ОСНОВНАЯ РАМА (СПЕЦ-Я TBG) ОПЦИОННЫЕ КОМПОНЕНТЫ

Схема запчастей Komatsu PC300-2 - ОСНОВНАЯ РАМА (СПЕЦ-Я TBG) ОПЦИОННЫЕ КОМПОНЕНТЫ
FIT
1:1
100%

Артикул

Название

Примечание

Количество

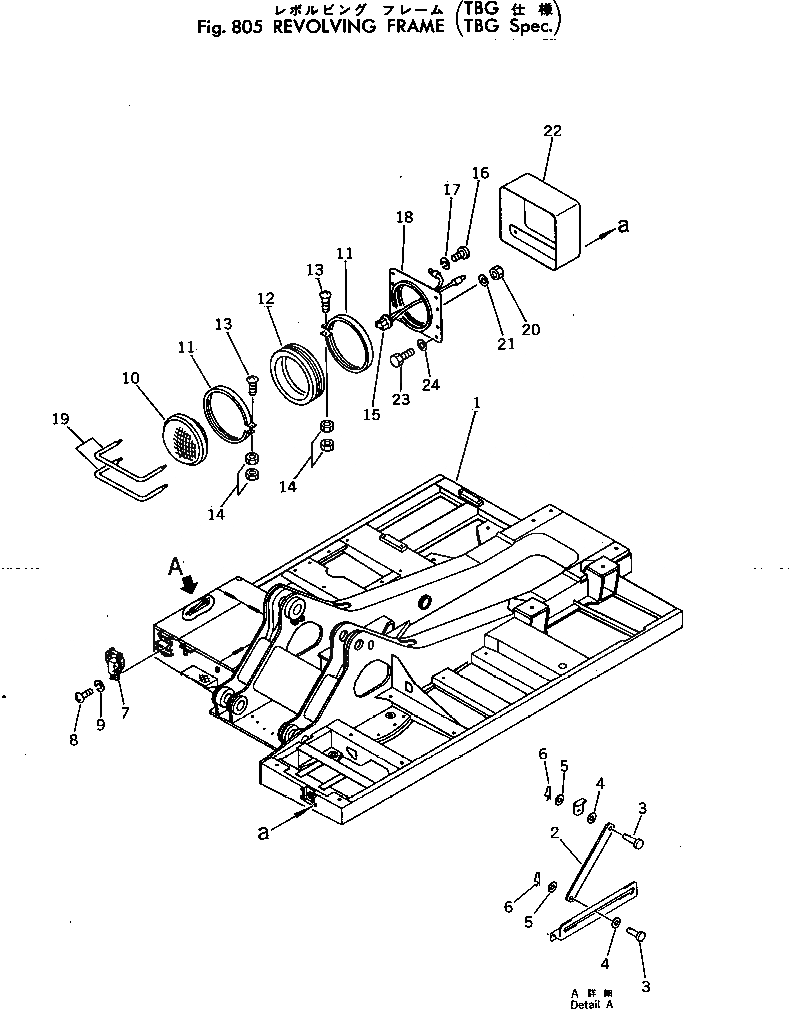
1

207-46-11390

FRAME

2

205-54-65190

STAY

3

04205-10820

PIN

4

01643-31032

WASHER

5

01643-30823

WASHER

6

04052-00833

PIN,SNAP

7

195-57-11530

CATCHER

8

01220-40512

SCREW

9

01601-20513

WASHER,SPRING

|$9

205-06-62500

LAMP ASS'Y

10

08113-02480

BULB, 80W

11

08128-00004

BAND

12

08128-00003

HOLDER

13

01220-40420

SCREW

14

01580-10403

NUT

15

175-06-23230

SOCKET

16

01220-40408

SCREW

17

01601-20410

WASHER,SPRING

18

144-06-13221

BASE

19

144-06-13120

GUARD

20

01580-10605

NUT

21

01643-30623

WASHER

22

205-54-67181

COVER

23

01010-50825

BOLT

24

01643-30823

WASHER

Выбрано товаров: 25