Запчасти Komatsu PC300-2 ТРУБКИ КОНДИЦИОНЕРА ОПЦИОННЫЕ КОМПОНЕНТЫ

Схема запчастей Komatsu PC300-2 - ТРУБКИ КОНДИЦИОНЕРА ОПЦИОННЫЕ КОМПОНЕНТЫ
FIT
1:1
100%

Артикул

Название

Примечание

Количество

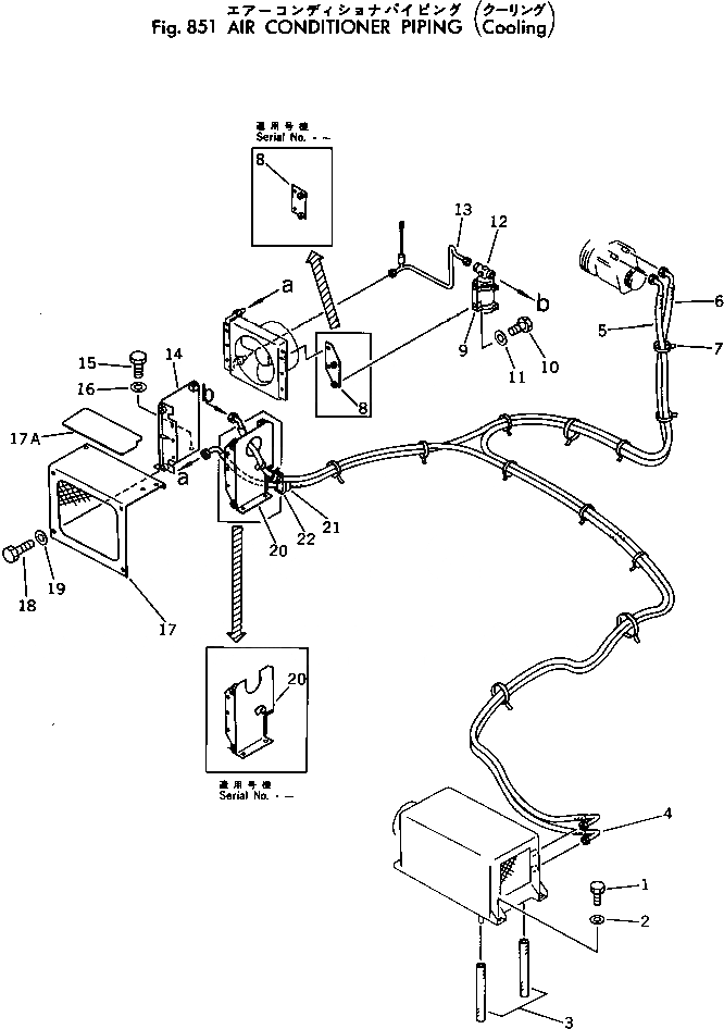
1

01010-51220

BOLT

2

01643-31232

WASHER

3

205-979-6350

HOSE

4

207-979-1180

HOSE

5

207-979-1190

HOSE

6

207-979-1170

HOSE

7

08034-00536

BAND

8

207-979-1291

BRACKET

8

207-979-1290

BRACKET

9

198-911-4590

HOLDER

10

01010-50816

BOLT

11

01643-30823

WASHER

12

198-911-4610

TANK

13

207-979-1280

TUBE

14

207-979-1250

BRACKET

15

01010-51220

BOLT

16

01643-31232

WASHER

17

207-979-1260

BRACKET

17A

207-979-1270

SEAT

18

01010-51220

BOLT

19

01643-31232

WASHER

20

207-979-1241

BRACKET

20

207-979-1240

BRACKET

21

205-62-55780

COVER

21

205-62-55780

COVER

22

08034-00536

BAND

22

08034-00536

BAND

Выбрано товаров: 27