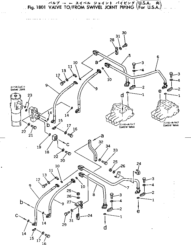
Запчасти Komatsu PC300-2 КЛАПАН TO/FROM ПОВОРОТНОЕ СОЕДИНЕНИЕ ТРУБЫ (ДЛЯ США) ОПЦИОННЫЕ КОМПОНЕНТЫ (СПЕЦ. APPLICATION ЧАСТИ)

Схема запчастей Komatsu PC300-2 - КЛАПАН TO/FROM ПОВОРОТНОЕ СОЕДИНЕНИЕ ТРУБЫ (ДЛЯ США) ОПЦИОННЫЕ КОМПОНЕНТЫ (СПЕЦ. APPLICATION ЧАСТИ)
FIT
1:1
100%

Артикул

Название

Примечание

Количество

1

07000-13032

O-RING

2

07371-31049

FLANGE

3

07372-21035

BOLT

4

01643-51032

WASHER

5

207-62-23632

TUBE

6

207-62-23642

TUBE

7

207-62-23651

TUBE

8

207-62-23661

TUBE

9

207-62-23520

HOSE

10

07000-13032

O-RING

11

07371-31049

FLANGE

12

07372-21035

BOLT

13

01643-51032

WASHER

14

07000-13025

O-RING

15

07371-30638

FLANGE

16

01010-50830

BOLT

17

01643-50823

WASHER

18

207-62-23511

BLOCK

19

07000-13028

O-RING

20

01252-41060

BOLT

21

01252-41065

BOLT

22

01643-51032

WASHER

23

07000-13032

O-RING

24

07283-23442

CLIP

25

01599-01011

NUT

26

01643-31032

WASHER

27

207-62-23560

CLAMP

28

205-62-52570

CLAMP

29

01010-51270

BOLT

30

01010-51260

BOLT

31

01643-31032

WASHER

32

207-62-23571

BRACKET

33

01010-51250

BOLT

34

01643-31232

WASHER

Выбрано товаров: 34