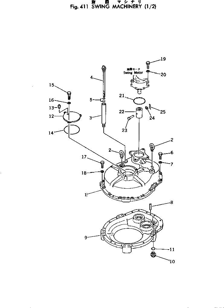
Запчасти Komatsu PC300-2 МЕХАНИЗМ ПОВОРОТА (/) ПОВОРОТН. И СИСТЕМА УПРАВЛЕНИЯS

Схема запчастей Komatsu PC300-2 - МЕХАНИЗМ ПОВОРОТА (/) ПОВОРОТН. И СИСТЕМА УПРАВЛЕНИЯS
FIT
1:1
100%

Артикул

Название

Примечание

Количество

1

207-26-11113

CASE

2

04530-12030

BOLT,EYE

3

205-26-61110

FILLER

4

207-26-11320

GAUGE

5

07002-02434

O-RING

5

07000-03022

O-RING

6

01010-51655

BOLT

7

01643-31645

WASHER

8

04020-01638

PIN,DOWEL

9

207-26-11122

CASE

10

07044-13620

PLUG

11

07002-03634

O-RING

12

208-26-11132

COVER

13

07042-10108

PLUG

14

07000-05185

O-RING

15

01010-51230

BOLT

16

01643-31232

WASHER

17

01011-52445

BOLT

18

01643-32460

WASHER

19

01010-51655

BOLT

20

01643-31645

WASHER

21

07000-02135

O-RING

22

207-26-11190

COUPLING

23

706-77-90160

PIN

24

01641-00812

WASHER

25

04050-12015

PIN,COTTER

Выбрано товаров: 0