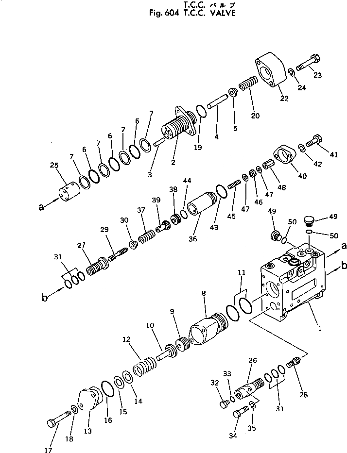
Запчасти Komatsu PC300-2 T.C.C. КЛАПАН УПРАВЛ-Е РАБОЧИМ ОБОРУДОВАНИЕМ

Схема запчастей Komatsu PC300-2 - T.C.C. КЛАПАН УПРАВЛ-Е РАБОЧИМ ОБОРУДОВАНИЕМ
FIT
1:1
100%

Артикул

Название

Примечание

Количество

|$0

706-46-22200

HYDRAULIC PUMP ASS'Y

|$1

706-46-52400

T.C.C. VALVE ASS'Y

1

BODY ASS'Y

2

FLANGE

3

PISTON

4

PIN

5

RETAINER

6

O-RING

7

RING

8

FLANGE

9

PISTON

10

RETAINER

11

O-RING

12

SPRING

13

COVER

14

SHIM

15

SHIM

16

O-RING

17

BOLT

18

WASHER,SPRING

19

O-RING

20

SPRING

21

SHIM

21

SHIM

22

COVER

23

BOLT

24

WASHER,SPRING

25

SPOOL

26

COVER

26

COVER

27

SLEEVE

28

PISTON

28

PISTON

29

SPOOL

31

O-RING

32

07040-11007

PLUG

33

07002-01023

O-RING

34

BOLT

35

WASHER,SPRING

36

SLEEVE

37

SPRING

38

STOPPER

39

RETAINER

40

PLATE

41

BOLT

42

WASHER,SPRING

43

O-RING

44

O-RING

45

SCREW

46

NUT

47

WASHER

48

NUT

49

07040-11007

PLUG

50

07002-01023

O-RING

Выбрано товаров: 54