Запчасти Komatsu PC300-2 ИЗ НАСОСА В КЛАПАН ТРУБЫ (/) УПРАВЛ-Е РАБОЧИМ ОБОРУДОВАНИЕМ

Схема запчастей Komatsu PC300-2 - ИЗ НАСОСА В КЛАПАН ТРУБЫ (/) УПРАВЛ-Е РАБОЧИМ ОБОРУДОВАНИЕМ
FIT
1:1
100%

Артикул

Название

Примечание

Количество

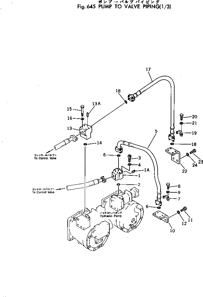
1

205-62-67452

ELBOW

1A

07042-30108

PLUG

2

07000-13035

O-RING

3

01252-41080

BOLT

4

01643-51032

WASHER

5

07126-00610

HOSE

6

07000-13025

O-RING

7

07371-30638

FLANGE

8

01010-50830

BOLT

9

01643-50823

WASHER

10

205-62-68350

BRACKET

11

01010-51230

BOLT

12

01643-31232

WASHER

13

207-62-23740

ELBOW

13A

07042-30108

PLUG

14

07000-13035

O-RING

15

01011-51030

BOLT

16

01643-31032

WASHER

17

07127-00610

HOSE

18

07000-13025

O-RING

19

07371-30638

FLANGE

20

01010-50830

BOLT

21

01643-50823

WASHER

22

207-62-23371

BRACKET

23

01010-51230

BOLT

24

01643-31232

WASHER

Выбрано товаров: 0