Запчасти Komatsu PC300-2 ВОЗВРАТ. И ЛИНИИ МАСЛООХЛАДИТЕЛЯ (/) УПРАВЛ-Е РАБОЧИМ ОБОРУДОВАНИЕМ

Схема запчастей Komatsu PC300-2 - ВОЗВРАТ. И ЛИНИИ МАСЛООХЛАДИТЕЛЯ (/) УПРАВЛ-Е РАБОЧИМ ОБОРУДОВАНИЕМ
FIT
1:1
100%

Артикул

Название

Примечание

Количество

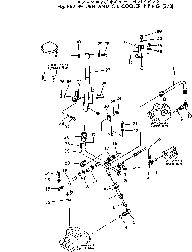
1

07002-12034

O-RING

2

20R-62-11930

ELBOW

3

205-62-67310

HOSE

4

07002-13334

O-RING

5

205-62-67820

ELBOW

6

207-62-25180

TUBE

7

203-62-22221

HOSE

8

207-09-11110

CLAMP

9

07002-13334

O-RING

10

205-62-67820

ELBOW

11

205-62-68320

HOSE

12

07000-13038

O-RING

13

07371-31255

FLANGE

14

07372-21035

BOLT

15

01643-51032

WASHER

16

207-62-25190

TUBE

17

203-62-22221

HOSE

18

207-09-11110

CLAMP

19

207-62-25141

TUBE

20

207-62-25230

BRACKET

21

01010-51025

BOLT

22

01643-31032

WASHER

23

07283-26155

CLIP

24

01599-01011

NUT

25

01643-31032

WASHER

26

07332-02000

COUPLING

27

207-62-25160

TUBE

28

01010-51295

BOLT

29

01643-31232

WASHER

30

07000-02060

O-RING

31

207-62-25280

BRACKET

32

01010-51025

BOLT

33

01643-31032

WASHER

34

07283-36155

CLIP

35

01599-01011

NUT

36

01643-31032

WASHER

37

207-62-25320

BRACKET

38

07283-36163

CLIP

39

01599-01011

NUT

40

01643-31032

WASHER

Выбрано товаров: 0