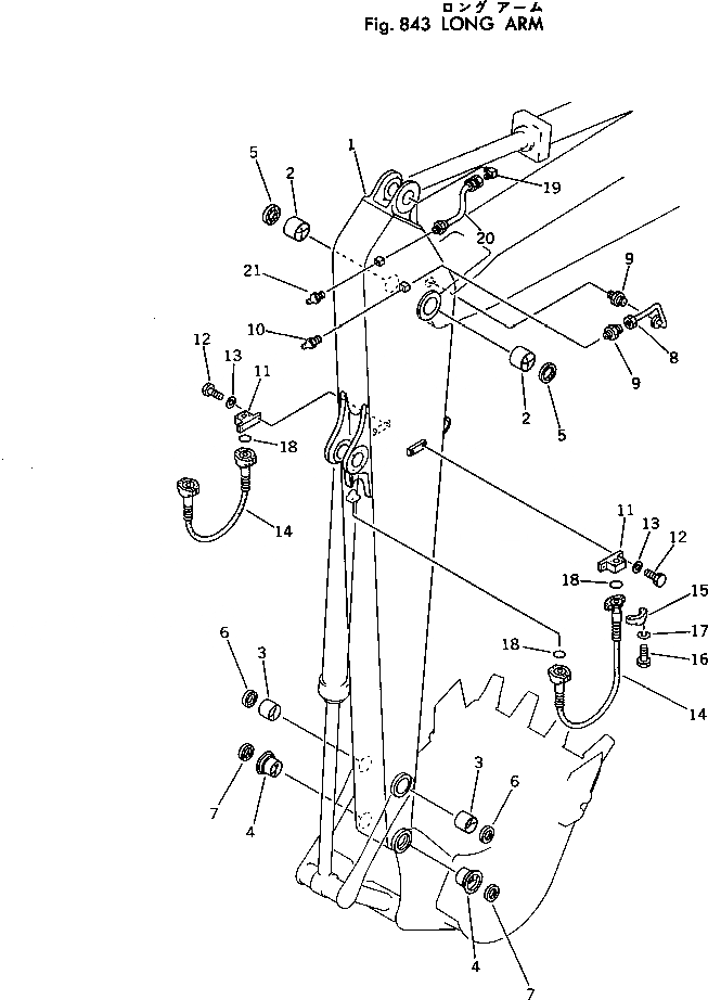
Запчасти Komatsu PC300-2 УДЛИНН. РУКОЯТЬ ОПЦИОННЫЕ КОМПОНЕНТЫ

Схема запчастей Komatsu PC300-2 - УДЛИНН. РУКОЯТЬ ОПЦИОННЫЕ КОМПОНЕНТЫ
FIT
1:1
100%

Артикул

Название

Примечание

Количество

|1

207-943-0011

LONG ARM ASS'Y

|1

207-943-0010

LONG ARM ASS'Y

1

ARM

|1

ARM

2

207-70-12161

BUSHING,DUST

3

207-70-12171

BUSHING,DUST

4

207-70-12212

BUSHING,DUST

5

07145-00110

SEAL

6

206-70-62180

SEAL

7

207-70-12270

SEAL

8

207-70-12310

TUBE

9

07213-51013

CONNECTOR

10

07020-00000

FITTING,GREASE

11

207-943-1150

FLANGE

12

01010-51435

BOLT

13

01463-31445

WASHER

14

07127-21013

HOSE

15

07371-31049

FLANGE,SPLIT

16

07372-21030

BOLT

17

01463-51032

WASHER

18

07000-13032

O-RING

19

205-70-51380

ELBOW

20

205-70-51370

HOSE

21

07020-00000

FITTING,GREASE

Выбрано товаров: 24