Запчасти Komatsu PC300-2 ЭЛЕКТРИКА ОПЦИОННЫЕ КОМПОНЕНТЫ

Схема запчастей Komatsu PC300-2 - ЭЛЕКТРИКА ОПЦИОННЫЕ КОМПОНЕНТЫ
FIT
1:1
100%

Артикул

Название

Примечание

Количество

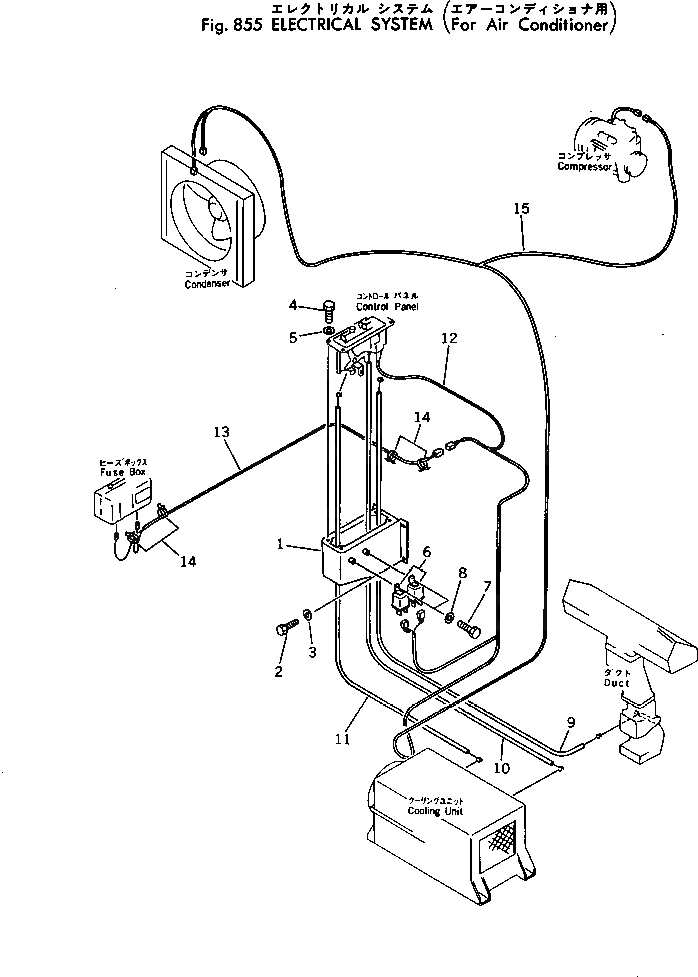
1

205-979-6250

BRACKET

2

01010-51020

BOLT

3

01643-31032

WASHER

4

01010-50816

BOLT

5

01643-30823

WASHER

6

205-979-6460

RELAY ASS'Y

7

01010-50812

BOLT

8

01643-30823

WASHER

9

205-979-6260

CABLE

10

205-979-6280

CABLE

11

205-979-6270

CABLE

12

205-979-6430

HARNESS ASS'Y

13

205-979-6450

WIRE ASS'Y

14

08034-00414

BAND

15

207-979-1220

HARNESS ASS'Y

Выбрано товаров: 0