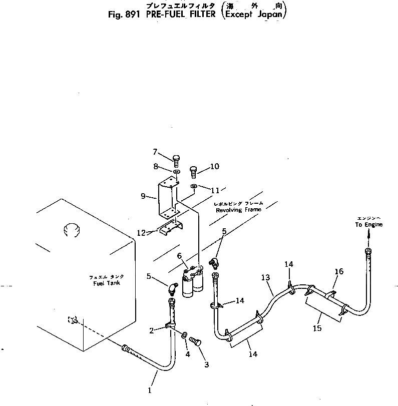
Запчасти Komatsu PC300-2 ТОПЛИВН. ПРЕФИЛЬТР ОПЦИОННЫЕ КОМПОНЕНТЫ

Схема запчастей Komatsu PC300-2 - ТОПЛИВН. ПРЕФИЛЬТР ОПЦИОННЫЕ КОМПОНЕНТЫ
FIT
1:1
100%

Артикул

Название

Примечание

Количество

1

02750-24115

HOSE

2

08036-02514

CLIP

3

01010-51020

BOLT

4

01643-31032

WASHER

5

6710-71-8470

ELBOW

6

600-311-9400

FUEL FILTER ASS'Y

7

02010-70632

BOLT

8

01643-31032

WASHER

9

207-04-11220

BRACKET

10

01010-51230

BOLT

11

01643-31232

WASHER

12

207-04-11240

BRACKET (WELDED)

13

02750-24260

HOSE

14

08034-00519

BAND

15

08034-00536

BAND

16

175-804-3230

CLIP

Выбрано товаров: 16