Запчасти Komatsu PC300-2 ПЕДАЛЬ УПРАВЛ-Я И МЕХАНИЗМ (/) ОПЦИОННЫЕ КОМПОНЕНТЫ (СПЕЦ. APPLICATION ЧАСТИ)

Схема запчастей Komatsu PC300-2 - ПЕДАЛЬ УПРАВЛ-Я И МЕХАНИЗМ (/) ОПЦИОННЫЕ КОМПОНЕНТЫ (СПЕЦ. APPLICATION ЧАСТИ)
FIT
1:1
100%

Артикул

Название

Примечание

Количество

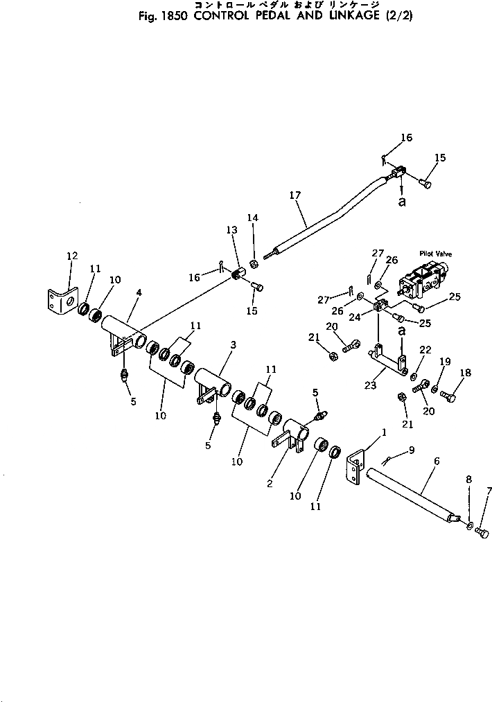
1

208-43-14131

BRACKET

2

205-43-61380

LEVER

3

205-43-61390

LEVER

4

205-970-5930

LEVER

5

07020-00000

FITTING,GREASE

6

205-970-5970

SHAFT

7

01010-50816

BOLT

8

01643-30823

WASHER

9

04050-13040

PIN

10

06120-03020

BEARING

11

06122-03004

SEAL

12

208-43-14141

BRACKET

13

04210-21040

YOKE

14

01582-11008

NUT

15

04205-11028

PIN

16

04052-01038

PIN,SNAP

17

207-970-1840

ROD

18

01010-51235

BOLT

19

01643-31232

WASHER

20

04252-21269

END,ROD

21

01582-11210

NUT

22

01640-21223

WASHER

23

207-970-1850

SHAFT

24

205-970-5890

YOKE

25

04205-10628

PIN

26

01641-20608

WASHER

27

04052-00633

PIN,SNAP

Выбрано товаров: 27