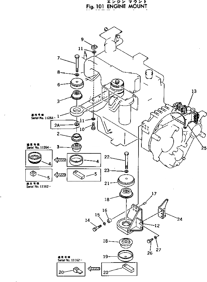
Запчасти Komatsu PC300-2 КРЕПЛЕНИЕ ДВИГАТЕЛЯ КОМПОНЕНТЫ ДВИГАТЕЛЯ И ЭЛЕКТРИКА

Схема запчастей Komatsu PC300-2 - КРЕПЛЕНИЕ ДВИГАТЕЛЯ КОМПОНЕНТЫ ДВИГАТЕЛЯ И ЭЛЕКТРИКА
FIT
1:1
100%

Артикул

Название

Примечание

Количество

1

208-01-11233

BRACKET

|1

208-01-11232

BRACKET

2

21T-01-11210

COLLAR

|2

208-01-11221

COLLAR

2A

21T-01-11220

COLLAR

3

207-01-11142

CUSHION

|3

207-01-11141

CUSHION

4

207-01-11380

STOPPER

|4

208-01-11141

STOPPER

5

207-01-14121

PLATE

|5

207-01-14120

PLATE

6

207-01-11370

STOPPER

|6

208-01-11131

STOPPER

7

208-01-11181

BOLT

8

01643-32460

WASHER

9

208-01-11240

PLATE

10

01010-51885

BOLT

11

01643-31845

WASHER

12

207-01-11115

BRACKET,L.H.

13

207-01-11125

BRACKET,R.H.

14

01010-51685

BOLT

15

01643-31645

WASHER

16

195-54-11570

SPACER

17

04020-01842

PIN

18

21T-01-11150

CUSHION

19

207-01-11341

STOPPER

20

207-01-14121

PLATE

|20

207-01-14130

PLATE

|20

207-01-14120

PLATE

21

207-01-11370

STOPPER

|21

207-01-11351

STOPPER

22

208-01-11181

BOLT

23

01643-32460

WASHER

24

207-01-12530

PLATE

Выбрано товаров: 34